车东西(公众号:chedongxi)
作者 | James
编辑 | 晓寒
就在上周四,本田正式开售全球首台法律许可的L3级自动驾驶量产车Legend (中文译名里程)。消费者买到这辆车以后,可在日本本土的部分路段使用L3级自动驾驶系统。
车辆行驶在高速路、城市快速路时,刚好遇上交通拥堵,系统会自动激活L3级自动驾驶系统,驾驶员在松开双手双脚的同时,双眼也不用注视道路,可以观看视频或者使用手机,整个驾驶过程全部由车辆完成。
▲启用L3级自动驾驶系统时可以看视频
在L3级自动驾驶过程中,如果发生事故,责任由本田和保险公司共同承担。
2017年和2020年,奥迪与奔驰先后发布了搭载L3级自动驾驶系统的A8与S级轿车,前者更是成为“全球首款搭载L3级自动驾驶系统的量产车”。
但由于技术成熟度不够,A8在发布后并未在任何国家销售,其高管也表示这一代产品将不会量产L3级自动驾驶系统。而奔驰S级则需要等待法律许可才能开放这一功能,相当于是“期货”。
这种背景下,就让本田Legend成为了全球首款上市销售的L3级量产车。
这种现状显然与外界对日系车企“保守”、“智能化技术较为落后”的传统印象有了极大的反差。
那么本田到底是如何在全球率先实现L3级系统量产的?车辆搭载了哪些传感器?如何进行的技术测试,背后又拥有怎样一支研发团队呢?
透过本田技术高管在日本媒体接受的采访,以及本田公布的专利,车东西找到了一份相对完整的答案。
一、拥堵路况可开启L3 硬件堆料极为丰富
根据SAE International的定义,当L3级自动驾驶功能开启时,驾驶员不用驾驶,当系统要求驾驶员介入,驾驶员才需要手动驾驶。
▲SAE自动驾驶分级标准
本田的自动驾驶系统SENSING Elite在交通拥堵情况下就具备这样的功能。
当车辆驶上高速路或城市快速路,驾驶员可以开启L2级自动驾驶,车道保持、自适应巡航、主动切换车道功能开启,此时驾驶员只需要注视道路即可,车辆能够自行控制车速和方向。
当车辆处于“松手”驾驶模式,行驶在高速公路/城市快速路时,刚好又遇到交通拥堵,且车辆准确识别到前车与后车后,系统会自动激活L3级自动驾驶功能TJP(Traffic Jam Pilot,交通拥堵辅助),并通过声音与仪表盘上的文字,提醒驾驶员。
此时,TJP功能能够完全控制车辆,驾驶员可以不用注视道路。出于安全考虑,驾驶员可以操作车内中控屏幕看视频、规划路线,可以发呆,但是不能翘二郎腿、看报、看手机、看书、睡觉、吃东西、用笔记本电脑。

▲特定路况可开启L3级自动驾驶
当拥堵缓解,前车提速后,系统会通过声音与文字提醒驾驶员“接管”车辆。
这里注意,此时的接管并不是人工驾驶,而是让驾驶员注意力回归,同时双手放在方向盘上,但车辆其实是L2级系统在工作,即保持在当前车辆智能巡航。
▲驶出拥堵路段后提醒驾驶员“接管”
经过一小段时间后,如果车辆探测到周围环境允许,车辆又会自动切换到“L2松手”模式,驾驶员可拿开双手,但注意力需要保持在道路上。
可以看出,本田的这套L3级自动驾驶系统相对保守,仅在30km/h以下的堵车场景可用,但相比L2级自动驾驶也有重大进步,因为此时驾驶责任完全不在驾驶员了。在L3级自动驾驶启用过程中,即便发生了剐蹭、追尾等事故,事故责任在制造商,这对制造商来说压力很大。
因此在硬件配置方面,本田Legend Hybrid EX的配置非常高。他拥有5个激光雷达、5个毫米波雷达、双目前视摄像头和12个超声波雷达,用于实时监测车外环境。
▲本田Legend Hybrid EX传感器配置
本田在其官网上说,激光雷达对道路上的汽车、摩托车与非金属物体之间测距表现非常出色。毫米波雷达可以测量车辆与金属物体之间的距离。同时,两个视觉传感器可以识别物体形状,分辨行人、车道、路标等。超声波雷达则可以在短距离内检测障碍物。
这24个车外传感器可以掌握车辆周围的情况。
在车内,车机屏幕的左侧有一枚内置红外装置的摄像头,用于驾驶员监测。可以精准识别驾驶员面部朝向,睁眼、闭眼状态,头是否移动等。
同时,本田Legend EX也配备了高精定位功能,通过GNSS全球卫星导航系统(例如GPS等)与日本准天顶卫星系统,实现高精定位。
车内搭载了3D高精地图。高精地图以厘米级的精度,记录下道路的形状、宽度、坡度、车道标记和道路标志,同时,道路信息将会不断更新。
▲日本部分高速支持该系统
那么,本田是如何成为全球第一,实现L3级自动驾驶量产上市的呢?其中最重要的原因就是技术发展,同时更加明确的法规让L3级自动驾驶车辆能够合法上路。
二、获得法律许可 L3级出事故本田负责
实际上早在去年4月,日本国土交通省对《道路车辆法》做了部分修订,L3级自动驾驶系统被添加到符合安全标准的机动车辆设备清单中,让L3级自动驾驶系统有法可依。
《道路车辆法》对L3级自动驾驶车辆作出在性能、数据搜集、外观方面的明确规定。
在车辆自动驾驶性能上,车辆不能对车上乘员、道路上其他参与者造成伤害;必须要在满足条件的路段开启L3级自动驾驶;系统无法驾驶时,需要提前提醒驾驶员,驾驶员接管之前系统要保持安全驾驶,或者安全停车;车内需要有驾驶员监测系统;采取网络安全措施,防止出现网络安全问题。
在数据搜集方面,自动驾驶系统需要记录设备在6个月以内或2500次的运行状况,包括开启、关闭时间,提醒驾驶员接管的情况,以及驾驶员没有接管的情况。
外观方面,L3级自动驾驶车型需要在车辆尾部贴上自动驾驶标签,提醒周围车辆注意。
去年11月,本田的L3级自动驾驶系统就获得了日本国土交通省的认证,这为意味着本田L3级自动驾驶可以面向市场量产发售。本田当时就宣布,将在今年3月底之前开始销售L3级自动驾驶车辆。
▲本田Legend Hybrid EX发布会
L3级自动驾驶还有一个关键问题,如果使用中发生交通事故,责任不在驾驶员,而是制造商负责。
这一点,本田也有解决方案。在上周的发布会上,本田宣布自家的L3级自动驾驶系统本身就很安全,并且已经为车辆购买了保险。一旦在L3级自动驾驶过程中出现交通事故,本田和保险公司会负责。
三、开发7年跑130万公里 还有自动驾驶专利
本田旗下的大多数量产车都搭载了本田SENSING自动驾驶系统,这套系统都只有L1、L2级自动驾驶能力,此次发布的本田SENSING Elite就是此前SENSING的升级版,首次支持L3级自动驾驶,而这一系统本田已经研发了至少7年时间。
本田SENSING Elite系统开发经理加纳忠彦自2007年就在研发本田SENSING自动驾驶系统,并且从2015年开始负责本田SENSING Elite的系统设计,此后又负责开发,是最早参与研发的工程师之一。
▲本田SENSING Elite系统开发经理加纳忠彦
同时,在本田申请L3级自动驾驶系统认证时,加纳忠彦还代表本田与日本政府进行谈判。
加纳忠彦认为:“根据SAE的定义,TJP是L3级自动驾驶的第一项功能,也是最基础的功能之一。这是因为在拥堵的高速公路上,汽车的碰撞、剐蹭事故频发。同时,拥堵状态下速度较慢,自动驾驶也会更安全。”
▲本田Legend Hybrid EX测试车
另外,本田TJP功能开发负责人八代藤野在2017年之前对自动驾驶进行基础研究,2017年之后参与Legend车型的自动驾驶控制域研发,并主要负责TJP功能开发。
八代藤野说道:“在开发过程中,我不仅在办公室开发,也在公共道路进行了大量路测。验证了TJP功能,还有支持驾驶员松手的主动换道功能。在研发过程中遇到了不少困难,我们已经尽了最大努力。”
▲本田SENSING Elite测试
他还说道,在研发过程中多个传感器的配合就非常困难。本田SENSING Elite自动驾驶系统具备激光雷达、毫米波雷达、摄像头、超声波雷达等多种类型的传感器,传感器融合技术非常复杂。
他认为:“如果仅简单混合来自每个传感器的信息,其实并不准确,有可能包含大量的错误信息,进而影响到自动驾驶性能。本田采取时间轴对齐的方式监测数据,保证系统不被异常数据影响。本田要了解每个传感器的优缺点,这样才能正确利用它们。”
▲本田自动驾驶工程师正在测试SENSING Elite
本田SENSING Elite项目负责人荒木光浩认为,在测试过程中,需要针对同一场景进行反复测试,包括用摄像头、毫米波雷达、激光雷达分别进行测试以及组合测试,以得到更准确的数据。
加纳忠彦说道:“即便做了大量的测试,也不能完全验证系统的安全性,本田采用FTA故障树分析方法,分析各种不安全的因素,然后优化系统。经过反复的测试,本田L3级自动驾驶的路测里程已经达到130万公里。”
另据本田首席工程师杉本洋一介绍,本田在L3级自动驾驶的研发过程中已经进行了大约1000万次模拟。
除大量路测之外,从本田去年10月获得的一项专利中也能看到这套自动驾驶系统的细节信息。
▲本田自动驾驶传感器
在传感器分布中,本田一共采用了7个激光雷达(20-1至20-7)、6个毫米波雷达(30-1至30-6)、一套双目摄像头(40)的传感器组合。
▲本田自动驾驶逻辑
此外,本田还在专利中描述了自动驾驶车辆的控制逻辑以及AEB/AES系统的启用情况讨论。
四、L3、L4一起开发 美日都有布局
本田在发布会上说道,L1、L2级辅助驾驶功能的操作主体都是驾驶员,从L3级自动驾驶开始,驾驶动作的主体转化为车辆,因此这是自动驾驶技术的分水岭。
面对L3以及更高等级的L4级自动驾驶,本田采取的策略是一起开发。
这是因为,L3级自动驾驶的传感器硬件与L4级自动驾驶可以通用,同时,必备的高精地图、高精定位也能够通用。
▲正在L3级自动驾驶的本田Legend Hybrid EX
加纳忠彦认为,L3级和L4级自动驾驶在技术上有很大不同,L4主要在研发共享汽车技术,目前消费者能否接受还存疑。而L3级自动驾驶技术面向驾驶员开发,面向个人使用。
因此,从自动驾驶的发展历程上来看,L3级自动驾驶有着重要的承上启下的地位;从实用角度来看,L3级自动驾驶目前更加实用,因此本田采取了一起开发的策略。
除了在日本部署之外,本田在全球主要自动驾驶测试大国美国和中国也有自动驾驶布局。
2018年,本田宣布向通用汽车旗下自动驾驶公司Cruise投资,投资分12年时间,总金额将达到20亿美元(约合130.6亿元人民币),此外有7.5亿美元(约合49亿元人民币)的股权投资,本田的投资总额将达到27.5亿美元(约合179.5亿元人民币)。
同时,从2016年底开始,Waymo和本田一直就自动驾驶合作进行谈判。2018年两家公司的谈判接近尾声,不过在2018年10月两家公司的谈判陷入僵局,合作失败。
五、L3自动驾驶成“世界难题”?奔驰奥迪都搞不定
如今,L2级自动驾驶已经逐渐成为20万以内家用车的标配,显然L2级自动驾驶的解决方案正在日渐成熟,不少厂商正在大力发展更高等级的自动驾驶技术,其中就包括奥迪和奔驰两家豪华品牌厂商。
2017年夏天,第四代奥迪A8正式发布,官方表示这台车的硬件支持L3级自动驾驶,后续会陆续向车主开放L3级自动驾驶系统。这代奥迪A8也是全球首款支持L3级自动驾驶的量产车。

▲第四代奥迪A8
不过,因为投入研发成本高,并且迟迟无法得到监管部门批准,直到现在,不管是中国、美国还是欧洲地区,该功能都未开放。同时,此前车东西独家报道,奥迪在2019年底悄悄取消了L3级自动驾驶项目。
多位了解该项目的业内人士则向车东西表示,取消的核心原因则是L3级自动驾驶的“接管”悖论问题无法解决。即L3级系统不能工作时,人类如何接管车辆这一问题不好确定,但L2和L4级自动驾驶技术则不存在这一问题。
在奥迪取消L3级自动驾驶项目之后,奔驰在去年发布的新款S级车型中也搭载了L3级自动驾驶系统。
奔驰当时在发布会上说道,因为目前只有德国等少数国家出台了允许使用L3级自动驾驶技术的法律框架,因此如果今年下半年具体的法律细则确定之后,德国用户将率先用上Drive Pilot L3级自动驾驶系统(部分高速路段)。

▲新款奔驰S级
中国、美国和其他欧盟国家,则需要等待当地法规明确后才能逐步开放。
可以说,奥迪A8和奔驰S级上的L3级自动驾驶基本一致,都是可以买到硬件,但暂时不能使用这项功能。
在国内,也有不少整车企业发布了L3级自动驾驶系统,其中部分车辆仅配备了博世的L2级自动驾驶硬件,还有部分配备了更强大的L3级自动驾驶硬件,但目前还没有正式上市。
L3级自动驾驶似乎成了一个“世界性难题”。
车东西认为,主要有两个原因让L3级自动驾驶的地位非常尴尬。
其一是驾驶责任划分的问题。在L3级自动驾驶场景下,驾驶员不对车辆的驾驶行为负责,责任在制造商,因此车企面对L3级自动驾驶非常保守。即便是首批支持L3级自动驾驶的车型,适用场景也仅局限于高速公路、城市快速路的堵车路段。这些路段的路况普遍比较简单,并且车速不快,发生事故的危害相对较小。
其二是接管时间的问题。系统发出接管指令后,驾驶员不能立即切换成驾驶状态,因此需要系统作出预判,给驾驶员反应的时间。这个时间如果太短,驾驶员可能反应不过来。如果太长,系统又可能会失效——接管时间成了困扰L3级系统落地的一个关键难题。
这也是每一家发展L3级自动驾驶的厂商必须面对的。
结语:传统车企实力不容小觑
在特斯拉快速崛起的今天,造车新势力无论在消费市场还是资本市场,都取得了巨大的进步。而这些车型,在自动驾驶能力、智能座舱交互等方面做得更加优秀。
不过,无论是去年发布的奔驰S级还是上周刚刚发布的本田Legend Hybrid EX,传统车企的能力不容小觑。
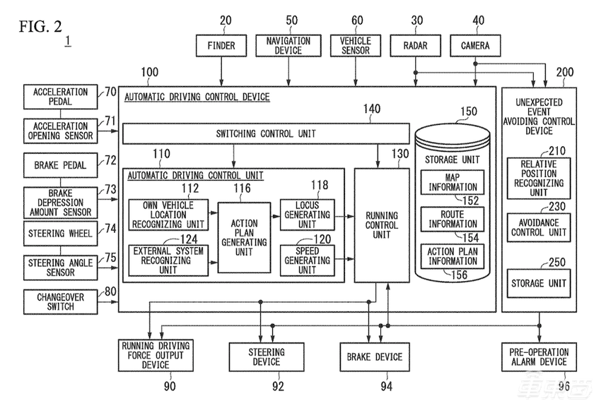
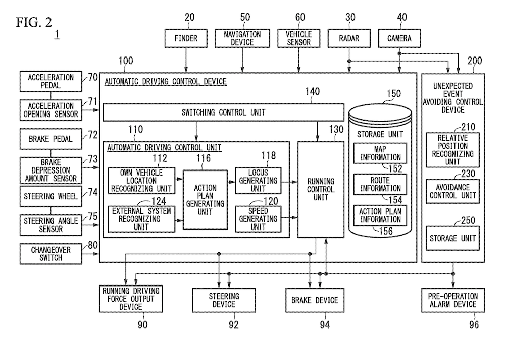
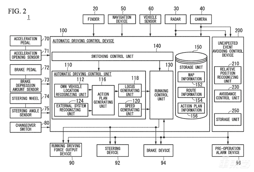
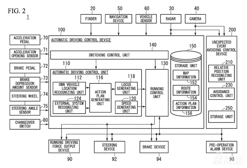
本田Legend Hybrid EX的SENSING Elite自动驾驶系统是量产车中的最高等级,这就说明传统车企的研发能力不容小觑,在汽车工业再次快速进步的今天,这些传统车企正在快速进步,赶上智能汽车浪潮。












