车东西(公众号:chedongxi)
作者 | 张睿
编辑 | 志豪
抢在北京车展前,4月工信部“车展”来了!

▲工信部第406批《道路机动车辆生产企业及产品公告》新产品公示部分重点车型
车东西4月10日消息,就在昨晚,国家工信部发布了第406批《道路机动车辆生产企业及产品公告》,其中有多款重点品牌的热门车型。

▲工信部发布第406批《道路机动车辆生产企业及产品公告》
本次工信部“车展”依然看点十足,多款重磅新车都是首次亮相,车东西在经过详细的梳理之后,选出了以下重磅新车型:
1、小米YU7新版本:此次小米YU7申报了一个整备质量减轻115kg的版本,可能是采用了更小的电池,或是雷军曾提到的续航620km的小米YU7入门版本,按照现款小米YU7入门版本25.35万元的售价来看,这个新版本的小米YU7售价可能会来到24万元左右。
2、小鹏L03:小鹏MONA家族的SUV车型,车长与轴距与M03较为接近。
3、理想L8 Livis:理想L8的改款车型,车长与轴距均增长,定位调整为旗舰五座SUV,将于第三季度开启交付。
4、启境GT7:华为第一“境”的首款车型参数曝光,车长超5米,轴距达3米,将于北京车展上公开亮相。
5、宝马iX3:宝马“新世代”车型国内首秀,此次申报了纯电版本,将搭载与Momenta合作的辅助驾驶系统,将于北京国际车展正式亮相。
此外,此次工信部目录中还有新款零跑C16、新款零跑C10等众多重磅车型,整体上来看此次工信部目录公示的车型具备很强的竞争力。
进入2026年第四个月,今年第一季度的汽车市场相对较为冷清,而车企们为了在今年后续的竞争中发力,纷纷推出重磅车型,本次工信部“车展”也为车圈接下来更加激烈的竞争拉开了序幕。
一、小米YU7申报新版本 或为电池容量更小版本
虽然不是全新车型,但小米YU7出现在了此次工信部目录中,与已经上市的车型核心变化是整备质量变为2200kg,较现款小米YU7后驱版的2315kg下降了115kg。

▲出现在此次工信部目录中的小米YU7车身尺寸等信息
从动力系统来看,此次工信部目录中的小米YU7与现款小米YU7后驱版相同,电池为来自宁德时代的磷酸铁锂电池

▲出现在此次工信部目录中的小米YU7动力系统信息
重量的降低可能是说明这个版本是电池容量更小一些的小米YU7车型,小米创办人、董事长兼CEO雷军曾提到过,小米YU7在上市前决定取消了续航为620km的版本,将续航为835km、售价25.35万元的版本作为入门版本。

▲雷军曾提到YU7“砍掉”了续航620km版本
而动力电池作为整车较贵的零部件,如果此次出现在此次工信部目录中的小米YU7真的是电池容量更小续航较短的版本,售价可能会降低至24万元左右。
二、小鹏MONA SUV亮相 轴距与M03较为接近
小鹏“MONA家族”的首款SUV来了!
一款尾标为“小鹏L03”的车型出现在了此次工信部公示中,从外观来看,其应该是小鹏MONA M03的SUV版“兄弟车型”。

▲小鹏L03外观
具体来看,小鹏L03延续了小鹏MONA家族的的设计语言,同时可以看到采用了半隐藏式门把手的设计,尾部采用了贯穿式尾灯。

▲小鹏L03尾部
车身尺寸方面,小鹏L03的长宽高分别为4650(4672)/1920/1600mm,轴距为2850mm,座位数为5座。作为参考,现款小鹏MONA M03的车身长宽高分别为4780/1869/1445mm,轴距为2815mm,可以看到小鹏L03车长与轴距与M03较为接近。

▲小鹏L03车身尺寸等信息
动力方面,小鹏L03此次申报了纯电单电机版,驱动电机峰值功率为183kW(约合248匹马力)。

▲小鹏L03动力系统信息
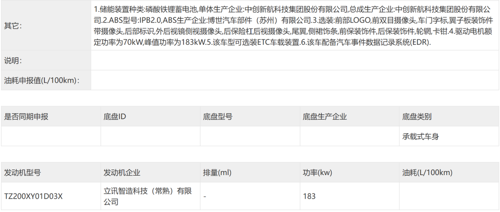
电池方面,此次公示显示小鹏L03采用了磷酸铁锂电池,储能装置单体和总成生产企业为中创新航科技集团股份有限公司。
三、新款理想L8调整为五座SUV 将于第三季度开启交付
理想新款L8亮相,定位调整为旗舰五座SUV。
一款尾标为“理想L8 Livis”的车型出现在了此次工信部公示中。

▲理想L8 Livis外观
外观方面,理想L8 Livis采用了理想汽车家族式的设计语言,车顶搭载了激光雷达,侧面采用了半隐藏式门把手的设计,尾部采用了贯穿式尾灯的设计,还可以看到有双色车身版本可选。

▲理想L8 Livis尾部
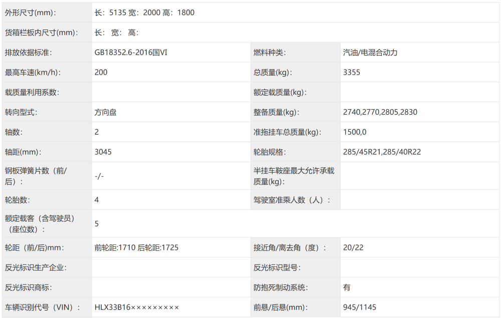
车身尺寸方面,理想L8 Livis的长宽高分别为5135/2000/1800mm,轴距为3045mm,座位数为5座。作为对比,现款理想L8的车身长宽高分别为5080/1995/1800mm,轴距为3005mm,座位数为6座,可以看到理想L8 Livis的车长增加了55mm,车宽增加了5mm,轴距增加了40mm。

▲理想L8 Livis车身尺寸等信息
动力方面,理想L8 Livis搭载排量为1.5L的增程器,最大功率为115kW(约合156匹马力),驱动电机的信息则没有在公示中透露。

▲理想L8 Livis动力系统信息
电池方面,此次公示显示理想L8 Livis采用了三元锂电池,储能装置单体生产企业为欣旺达动力科技股份有限公司,储能装置总成生产企业为江苏理想汽车电池有限公司。
在工信部公示后,理想汽车产品线负责人汤靖在社交媒体发文,梳理的理想汽车L系列未来的产品矩阵,可以看到理想L8由此前的6座车型调整为旗舰五座SUV,此前为5座车型的理想L7调整为高端六座SUV。

▲理想汽车产品线负责人汤靖在社交媒体发文
此外,汤靖还提到全新理想L8目标是“将宝马X5M的运动性能与迈巴赫GLS的空间体验集于一身”,将于第三季度开启交付。
四、华为第一“境”首车详细参数曝光 将于北京车展上公开亮相
华为第一“境”的首款车型参数曝光。
此前已经官方亮相过的启境GT7也出现在了此次工信部公示中,此前启境官方表示该车将在今年4月进店,并在2026年北京车展上公开亮相。

▲启境GT7外观
从外观上看,启境GT7采用了猎装轿跑设计语言,前脸采用封闭式格栅,车顶搭载了激光雷达,侧面采用了半隐藏式门把手的设计,尾部采用了贯穿式尾灯的设计。

▲启境GT7尾部
车身尺寸方面,启境GT7的长宽高分别为5050/1980/1470mm,轴距为3000mm。

▲启境GT7车身尺寸等信息
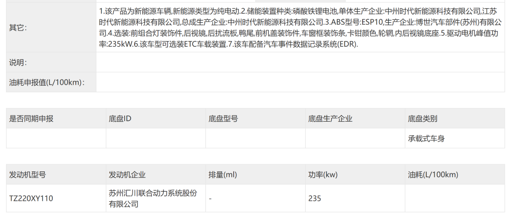
动力方面,启境GT7此次申报了纯电单电机版本,驱动电机峰值功率分别为250kW(约合339匹马力)。

▲启境GT7动力系统信息
电池方面,此次公示显示启境GT7分别由采用了三元锂电池和磷酸铁锂电池的版本,其中三元锂电池版本的储能装置单体生产企业为时代一汽动力电池有限公司,储能装置总成生产企业为广东瑞庆时代新能源科技有限公司;
磷酸铁锂电池版本的储能装置单体生产企业为时代上汽动力电池有限公司,储能装置总成生产企业为时代广汽动力电池有限公司。
五、宝马“新世代”车型国内首秀 搭载与Momenta合作辅助驾驶系统
宝马“新世代”车型国内首秀!
宝马旗下一款尾标为“iX3”的SUV车型出现在了此次工信部公示中,该车将于2026北京国际车展正式亮相。

▲宝马iX3外观
从外观上看,宝马iX3采用了宝马“新世代”的设计语言,外观较现款有很大不同,同时申报图中的车型采用了全隐藏式门把手的设计。

▲宝马iX3尾部
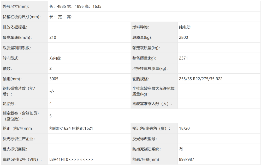
车身尺寸方面,宝马iX3的长宽高分别为4885/1895/1635mm,轴距3005mm,座位数为5座。

▲宝马iX3车身尺寸等信息
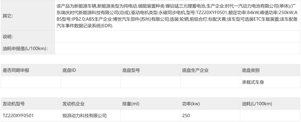
动力方面,宝马iX3此次申报了纯电版本,前/后驱动电机峰值功率为116kW(约合157匹马力)/235kW(约合319匹马力)。

▲宝马iX3动力系统信息
电池方面,此次公示显示宝马iX3采用了三元锂电池,储能装置单体生产企业为沈阳亿纬锂能有限公司,储能装置总成生产企业为华晨宝马汽车有限公司。
而根据宝马方面官方透露,宝马iX3将会搭载与Momenta携手打造的全场景领航辅助驾驶系统。

▲宝马中国官方发文
六、零跑多款车型改款 外观调整动力增强
零跑汽车也有多个改款车型出现在了此次工信部目录中,新款零跑C16的前脸进行了调整,同时驱动电机峰值功率有所提升。

▲新款零跑C16外观
新款零跑C10也进行了外观调整,驱动电机峰值功率同样有所提升。

▲新款零跑C10外观
结语:新车大战一触即发
2026年来到第四个月,马上即将迎来2026年北京国际车展,而车企们自然没有停下继续发新车的脚步,此次工信部“车展”就有多款重磅车型亮相。
今年第一季度的汽车市场相对较为冷清,但从本次工信部“车展”来看,2026年接下来的中国汽车市场的新车大战将会热闹起来。