车东西(公众号:chedongxi)
作者 | 张睿
编辑 | 志豪
车东西9月22日消息,今日,国家市场监管总局公示了中国第一汽车股份有限公司收购深圳市卓驭科技有限公司股权案。

▲国家市场监管总局公示
跟据公示信息显示,中国一汽股份有限公司(“一汽股份”)与New Territory Technology Company Limited(“New Territory”)、深圳市卓驭科技有限公司(“卓驭科技”)签署协议,拟增资并收购New Territory持有的卓驭科技的股权。
交易前,New Territory持有卓驭科技70.65%的股权,单独控制卓驭科技。交易后,一汽股份持有卓驭科技35.80%的股权,New Territory持有卓驭科技34.85%的股权,双方将共同控制卓驭科技。

▲国家市场监管总局公示的经营者集中简易案件公示表
根据公示信息中的介绍,一汽股份于2011年6月28日设立于吉林省长春市,其主要从事乘用车与商用车的开发、生产和销售业务。一汽股份的最终控制人是中国第一汽车集团有限公司(“一汽集团”),一汽集团主要从事乘用车和商用车的开发、生产和销售业务。
New Territory于2022年10月3日成立于中国香港特别行政区,其主要业务是持有卓驭科技的股权。New Territory的最终控制人是自然人,主要通过其控制的公司从事无人机、手持影像、机器人教育及相关解决方案的研发、设计、生产和销售。
卓驭科技主要从事先进驾驶辅助系统(ADAS)业务,原为大疆车载事业部,2023年从大疆分拆独立,成为独立运营的公司,2024年6月正式启用“卓驭”作为品牌名称。
根据卓驭科技官网显示,卓驭科技目前的合作客户包括大众汽车、上汽通用五菱、奇瑞汽车、中国一汽、东风汽车和长城汽车,其中与中国一汽的合作车型主要为一汽旗下红旗品牌的车型。

▲卓驭科技目前的合作客户
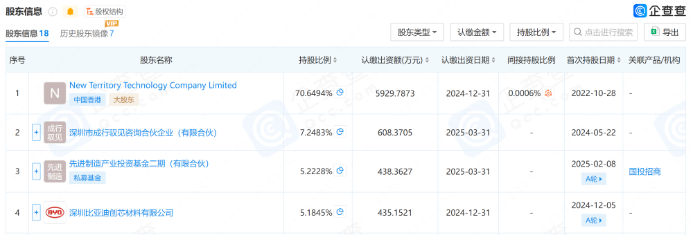
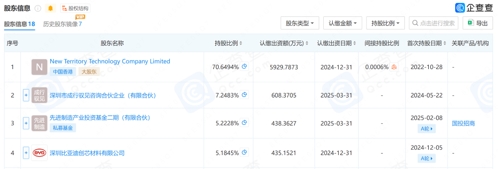
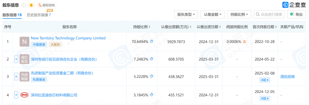
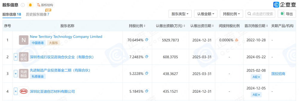
同时值得注意的是,在2024年12月,比亚迪旗下的深圳比亚迪创芯材料有限公司入股卓驭科技,按照企查查上的数据,目前深圳比亚迪创芯材料有限公司持有卓驭科技超5%的股份。

▲深圳比亚迪创芯材料有限公司持股深圳市卓驭科技