车东西(公众号:chedongxi)
作者 | R
编辑 | 志豪
车东西2月21日消息,就在刚刚,上汽集团股份有限公司与华为终端有限公司在上海签署深度合作协议。

▲上汽官方宣布与华为签署合作协议
根据上汽官方公告的内容,双方将在产品定义、生产制造、供应链管理、销售服务等领域展开战略合作,打造全新新能源智能汽车。
上汽集团董事长王晓秋,华为常务董事、终端BG董事长、智能汽车解决方案BU董事长余承东见证签约。上汽集团总裁贾健旭,华为终端智选车业务部总裁汪严旻分别代表上汽和华为签约。
值得注意的是,此次代表华为方面签约的人选是华为终端智选车业务部总裁汪严旻,这从侧面说明了上汽与华为的合作模式基本确认将是智选车模式。
此外,余承东的在场,也不由得让人对此前传闻上汽与华为合作的相关车型或将进入鸿蒙智行渠道销售产生遐想。
一、或合作打造新品牌 “尚界”商标已经注册
从上汽官方公告的内容来看,上汽将与双方将在产品定义、生产制造、供应链管理、销售服务等领域展开战略合作,打造全新新能源智能汽车,暂时没有提到双方是否要合作打造新品牌。
目前,华为与车企合作主要有三种模式,分别为零部件供应模式、HI(Huawei Inside)模式和智选车模式。
其中智选车模式可以说是华为与车企合作最深的模式,华为将深度参与整车的生命周期,包括产品定义、设计开发、生产制造、销售与宣发等环节。
华为已经与四家车企开展了智选车模式的合作,分别为赛力斯、北汽、江淮、奇瑞,对应目前鸿蒙智行的“四界”。
如果上汽采用智选车模式与华为合作,那么可能也会推出一个“界”,鸿蒙智行可能会扩充至“五界”。
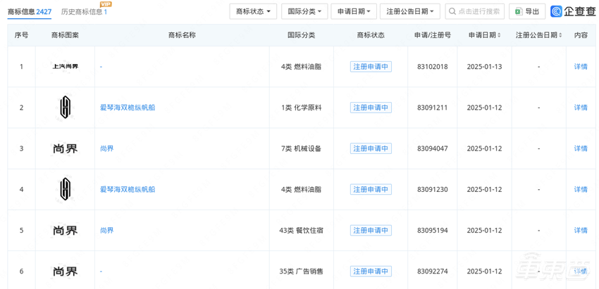
而在近日,上海汽车集团股份有限公司提交了“上汽尚界”、“尚界”等6件商标注册申请。

▲上汽集团注册中的“尚界”商标
从“上汽尚界”、“尚界”等6件商标的注册信息中不难看出,“尚”和“上”同音,“界”又是鸿蒙智行的一贯命名方式。
此外,还可以看到华为技术有限公司也注册了“尚界”的文字商标,目前处于已注册的状态。更为重要的是,华为手中的“尚界”商标分类为12类,也就是运输工具。

▲华为技术有限公司注册的“尚界”商标
目前来看,“上汽尚界”的标志可能更像是一个公司名称,而“X界”这样的“尚界”也是继华为公布“天界”、“仙界”、“君界”等多个商标注册之后,新的“界”系列商标的推出。
此前,已经有多个传闻表示上汽将于华为合作,上汽将与华为终端签订协议,其品牌名称可能是“尚界”。
目前上汽与华为终端签订协议已经成为现实,这么看,“尚界”品牌的官宣或许也已经不远了。
二、上汽曾反对“入伙” 如今“主动拥抱”
在2021年,上汽集团时任董事长陈虹提出了 “灵魂说”。
陈虹表示,上汽集团无法接受与华为等第三方公司在自动驾驶领域的合作。他将这种合作比作一家公司为上汽提供整体解决方案,从而使该公司成为“灵魂”,而上汽则成为“躯体”,并强调,“上汽要把灵魂掌握在自己手中。”
不过,这样的说法也具有一定的时代背景。上汽集团2021年营业总收入达7798.5亿元,同比增长5.1%,归属于上市公司股东的净利润为245.3亿元,同比增长20.1%。在销量上,上汽集团2021年实现整车批售546.4万辆,终端零售量581.1万辆,同比增长5.5%。
而到了2024年,根据上汽集团官方产销快报显示,上汽集团2024年全年销量为401.3万辆,比亚迪2024年全年销量为427.21万辆,上汽集团从2006年开始连续18年国内销量最高车企集团的纪录被终结。

▲上汽集团2024年度业绩预告
同时,根据上汽集团发布的业绩预告显示,公司预计2024年度实现归母净利润为15亿元到19亿元,与上年同期相比,将减少122亿元到126亿元,同比减少87%到90%。
这大概也是上汽开始拥抱华为的主要原因之一。毕竟,积极拥抱华为的赛力斯已经“赢麻了”。

▲赛力斯2024年年度业绩预盈公告
2024年全年业绩预告显示,赛力斯营收预计为1442亿元—1467亿元,同比增长302.32%—309.3%;预计实现归属上市公司股东的净利润为55亿元—60亿元,实现归属于上市公司股东的扣除非经常性损益的净利润为51.50亿元—56.50亿元。
2024年问界系“卖爆”,不少车型十分叫好,问界M9更是成了国内新能源豪华车的标杆之一。问界M9在2024年成为国内50万以上车型销冠,上市12个月累计大定突破20万台,至今累计交付突破15万辆,表现十分亮眼。
要知道,赛力斯也只有问界M5、M7、M9三个主力车型,但其在2024年全年一共卖了42.69万辆车。如此计算,2024年赛力斯每卖一辆车就能挣1.4万元。
可以说,赛力斯用上汽1/10的销量做到了3-4倍的营收,可见和华为合作之后的“强大”。
结语:华为朋友圈逐渐扩大
当下,新能源汽车市场竞争激烈,也给老牌车企带来了压力。北汽、江淮这样有国资背景的车企也开始主动拥抱华为,力求实现转型。
华为也是抓住了市场机会,再结合其强大的研发制造水平,给了车企更多的选择和可能。
而此次上汽与华为签约合作,华为在车圈的合作伙伴数量再次扩大。