车东西(公众号:chedongxi)
作者 | Janson
编辑 | 志豪
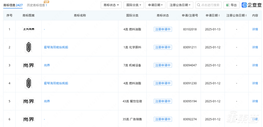
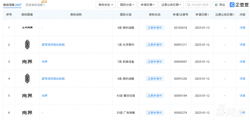
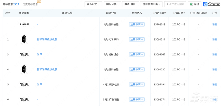
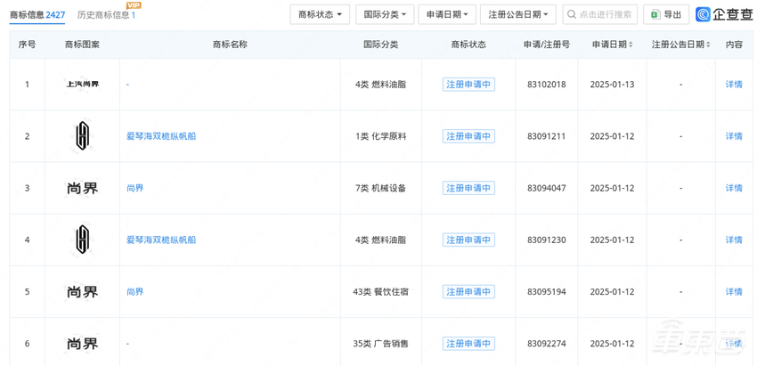
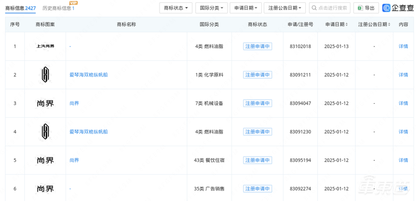
车东西1月26日消息,企查查信息显示,上海汽车集团股份有限公司提交了”上汽尚界”、“尚界”等6件商标注册申请。
此前就有上汽华为合作的传闻,现在又有了新的“界”字商标,这或许是要为华为“第五界”做准备了?

▲上汽集团最新公布的6项注册中商标
从”上汽尚界”、“尚界”等6件商标的注册信息中不难看出,“尚“、”上“同音,界又是鸿蒙智行的一贯命名方式,再加上”上汽尚界“的商标注册,上汽和华为可能确实在进一步深化合作方式。
但目前来看,“上汽尚界”的标志可能更像是一个公司名称,而“X界”这样的“尚界”也是继华为公布“天界”、“仙界”、“君界”等多个商标注册之后,新的“界”系列商标的推出。
这么看,上汽也许要推出叫“尚界”的品牌了?
一、上汽华为合作或有新进展 华为方案也要登陆上汽新车
此前,就有消息称,上汽集团正在与华为进行深入合作的接触,由上汽集团总裁贾健旭亲自领导,探索新的合作模式。
据了解,上汽集团与华为的合作谈判已进行一段时间,双方正在积极寻求突破传统合作模式的机会,或不同于目前已有的三种模式。分析人士认为,上汽集团可能会通过战略投资华为的子公司引望,以深化与华为的合作关系。
如果上汽集团确实对引望进行战略投资,这将可能促成更深层次的合作,包括共同开发新产品、共享技术和销售渠道等。

▲上汽尚界商标注册信息
不过值得注意的是,目前来看,上汽和华为的合作可能不同于已有的三种模式,结合此前广汽和华为要成立合资公司的情况来看,“上汽尚界”也有可能是上汽要和华为成立的合资公司名称。
虽然目前“上汽尚界“的相关消息并不是很多,但这也并非上汽和华为近期的首次合作消息。
媒体消息显示,1月12日前后,上汽集团的大乘用车板块已启动全员竞聘。此次竞聘主要面向公司管理层,表现优秀的员工有机会跨级升职。也有消息人士表示,大乘用车板块还将进行组织架构的调整,预计将在今年第一季度内完成。
同时也有消息称,首批已有超过40位华为人员进入上汽,计划在飞凡汽车内部代号为ES37的纯电动SUV项目中引入华为的全面解决方案。
二、上汽曾反对入伙 如今“主动拥抱“
在2021年,上汽集团时任董事长陈虹提出了 “灵魂说”。
陈虹表示,上汽集团无法接受与华为等第三方公司在自动驾驶领域的合作。他将这种合作比作一家公司为上汽提供整体解决方案,从而使该公司成为“灵魂”,而上汽则成为“躯体”,并强调,“上汽要把灵魂掌握在自己手中。”

▲上汽集团时任董事长陈虹
不过,这样的说法也具有一定的时代背景。上汽集团2021年营业总收入达7798.5亿元,同比增长5.1%,归属于上市公司股东的净利润为245.3亿元,同比增长20.1%。在销量上,上汽集团2021年实现整车批售546.4万辆,终端零售量581.1万辆,同比增长5.5%。

▲上汽集团2024年度业绩预告
不过到了2024年,根据上汽集团发布的业绩预告显示,公司预计2024年度实现归母净利润为15亿元到19亿元,与上年同期相比,将减少122亿元到126亿元,同比减少87%到90%。同年,上汽集团整车批发销量401.3万辆,比上年同期502.1万辆的成绩减少20.07%,相比2021年更是减少了将近145万辆。这样的成绩也结束了上汽集团蝉联18年的年销量冠军,易主比亚迪。
而这,大概也是上汽开始拥抱华为的主要原因之一。毕竟,积极拥抱华为的赛力斯已经“赢麻了”。

▲赛力斯2024年年度业绩预盈公告
2024年全年业绩预告显示,赛力斯营收预计为1442亿元—1467亿元,同比增长302.32%—309.3%;预计实现归属上市公司股东的净利润为55亿元—60亿元,实现归属于上市公司股东的扣除非经常性损益的净利润为51.50亿元—56.50亿元。
2024年问界系“卖爆”,不少车型十分叫好,问界M9更是成了国内新能源豪华车的标杆之一。问界M9在2024年成为国内50万以上车型销冠,上市12个月累计大定突破20万台,至今累计交付突破15万辆,表现十分亮眼。
要知道,赛力斯也只有问界M5、M7、M9三个主力车型,但其在2024年全年一共卖了42.69万辆车。如此计算,2024年赛力斯每卖一辆车就能挣1.4万元。
可以说,赛力斯用上汽1/10的销量做到了3-4倍的营收,可见和华为合作之后的“强大”。
结语:华为朋友圈逐渐扩大
当下,新能源汽车市场竞争激烈,也给老牌车企带来了压力。北汽、江淮这样有国资背景的车企也开始主动拥抱华为,力求实现转型。
华为也是抓住了市场机会,再结合其强大的研发制造水平,给了车企更多的选择和可能。
目前来看,上汽或许也开始了这样的考虑,在ES37项目之后又有“上汽尚界”这样的信息流出,也许上汽也要开启拥抱华为的选择了?
毕竟,现在的华为和上汽也和3年前不一样了。