车东西(公众号:chedongxi)
作者 | 小崔
编辑 | Juice
三天内,车圈接连发生两起大额融资,累计金额达到100亿元。
车东西8月31日消息,今天上午,阿维塔科技宣布完成B轮融资30亿元,投后估值近200亿元,长安汽车、南方资产、两江产业基金等追加投资,重庆产业母基金、交银投资和广开控股等新进投资。
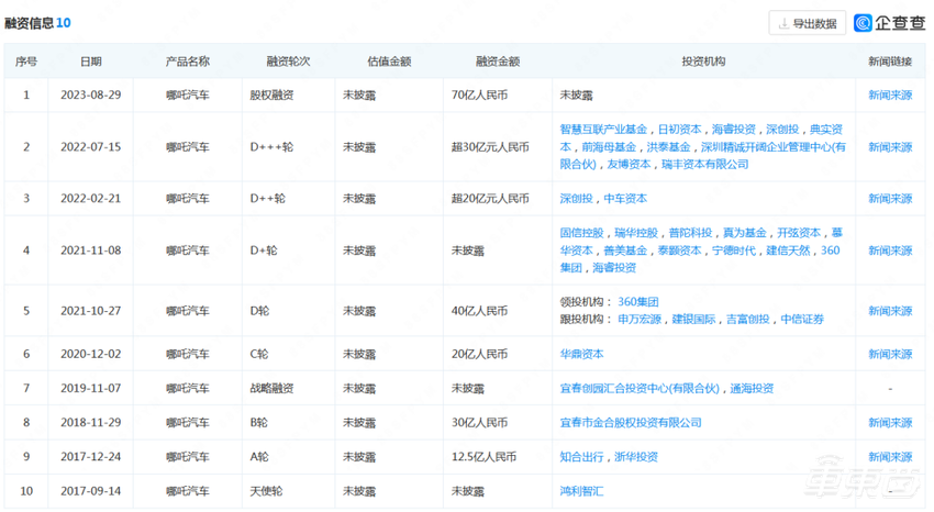
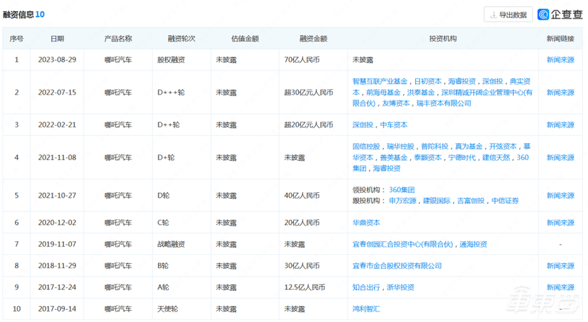
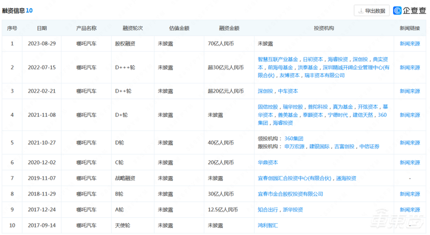
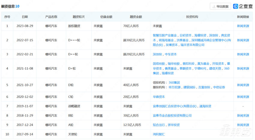
而在两天前,也就是8月29日,哪吒汽车也官宣完成总额为70亿元的Crossover轮融资,至此,哪吒汽车已经完成共10轮融资,累计金额超222.5亿元,而此次的crossover轮融资也是哪吒汽车目前融资金额最大的一轮,外界猜测这很有可能是哪吒汽车IPO前的最后一轮融资。
除此之外,8月25日,证监会网站披露关于极氪境外发行上市备案通知书,拟发行不超过9.26亿股普通股并在美国纽约证券交易所上市,在此之前,财联社曾报道极氪科技拟于八月底开启新一轮和投资人的试水会议,并计划在未来的IPO中募资10亿美元(约合人民币72.9亿元)左右的资金。
再往前看,8月16日,新能源智能重卡企业零一汽车宣布完成1.4亿元Pre-A轮融资。
除了整车厂融资之外,汽车产业链上还有部分供应商有最新融资。8月22日,钠离子电池企业深圳珈钠能源科技有限公司宣布完成A轮融资,本轮融资由春华资本领投,老股东顺为资本持续加注。
可以看到,8月以来,汽车产业链上的资本非常活跃,多家车企都在加紧储备资金,至于其背后的原因,车东西猜测和上半年持续的价格战有一定的关系。
今年以来,各家车企受价格战影响不得不降价保销量,日子过得并不轻松,除了少数几家车企,大多数车企的营利都在下降,这也导致其资金储备下降,按照目前的情况来看,价格战还将持续很长一段时间。
此次募资囤粮,实际上是在为接下来的持久战做准备,有了一定的资金储备,便不至于在接下来的寒冬中熬不下去,至少在下一阶段还能在牌桌上。
一、三天两起融资 哪吒阿维塔获资百亿
今天上午,阿维塔科技宣布完成B轮融资30亿元,长安汽车、南方资产、两江产业基金等追加投资,重庆产业母基金、交银投资和广开控股等新进投资。

▲阿维塔科技官宣完成B轮融资
此次融资完成后,长安汽车的持股比例保持40.99%不变,宁德时代持股比例由17.10%将为14.10%,重庆承安持股比例由13.55%降为11.17%,南方资产持股比例由7.35%增加到7.81%。
根据企查查信息,此次融资是阿维塔科技成立后的第三轮融资。2021年11月,阿维塔科技完成首轮战略融资,融资金额为24.2亿元,2022年8月,阿维塔科技完成25.47亿元的A轮融资,彼时估值已经达到百亿元,而随着此次B轮融资的顺利完成,其估值已经达到200亿元。

▲阿维塔科技融资情况
B轮融资顺利完成后,阿维塔科技表示将进一步加快后续车型的研发设计、产线投入、市场品牌发展和渠道建设。
从阿维塔科技的发展情况看,目前阿维塔旗下仅阿维塔11一款在售车型,售价为31.99万~39万元。截至目前累计交付超过1.2万辆,今年7月,阿维塔11交付1786辆,在30万元以上的纯电SUV里面,销量仅次于全新蔚来ES6。
需要注意的是,今年9月4日,阿维塔旗下第二款车型、首款轿车阿维塔12将在德国慕尼黑车展上全球首发亮相。
而在两天前,另外一家造车新势力也完成一轮融资。8月29日晚,哪吒汽车官宣完成总额为70亿元的Crossover轮融资。不过,哪吒汽车并未公开此次融资后估值以及投资方情况。

▲哪吒汽车官宣完成Crossover轮融资
根据企查查信息显示,哪吒汽车目前已经完成10轮融资。累计金额超过222.5亿元,而此次融资是目前已知金额最大的一轮融资。

▲哪吒汽车融资情况
哪吒汽车为何能够拿到这笔70亿元的融资呢?
从销量上看,2022年,哪吒汽车年销量达到15.2万辆,在造车新势力中位列第一,今年1~7月,哪吒汽车交付7.25万辆。
而在8月21日的哪吒汽车科技日上,哪吒汽车发布浩智技术品牌2.0,并推出浩智超算、浩智滑板底盘、浩智电驱、浩智增程和浩智热控五大技术产品,并将于9月正式启动浩智科技智慧工厂投产,投资超过10亿元,计划面向全行业开放浩智技术品牌研发成果。
无论从销量还是技术布局上,哪吒汽车的表现都还算可以,此前也有消息称哪吒汽车将进行IPO,2020年7月,哪吒汽车宣布将启动科创板上市申报工作,并计划于2021年完成上市,虽然最终并未完成上市,但其一直都在为最后的IPO冲刺做准备。
国内造车新势力中,蔚来、小鹏、理想和零跑四家已经相继完成上市,而且蔚小理三家还在多地上市,而从目前情况来看,哪吒汽车很有可能会成为下一个敲响钟声的造车新势力玩家。
除了这两起已经完成的融资以外,造车新势力中,极氪也在资本市场有最新动向。
8月25日,证监会网站披露关于极氪境外发行备案通知书,极氪拟发行不超过发行不超过9.26亿股普通股并在美国纽约证券交易所上市,在此之前,财联社曾报道极氪科技拟于八月底开启新一轮和投资人的试水会议,并计划在未来的IPO中募资10亿美元(约合人民币72.9亿元)左右的资金。

▲证监会发布关于极氪上市的备案通知书
而在此前吉利汽车的2023中期财报会上,吉利控股集团总裁、极氪智能科技CEO安聪慧就极氪IPO进展表示,将持续密切跟踪资本市场动态,将选择合适窗口期择机上市,并透露今年上半年极氪整车毛利率达到两位数水平。结合近期业务,极氪IPO估值预计大大超过130亿美元(约合人民币947.5亿元)。
除了造车新势力,新能源智能重卡企业零一汽车于8月16日宣布完成1.4亿元Pre-A轮融资。此轮融资由天善资本与联想创投联合领投,新宜资本跟投。至此,这家成立仅一年的公司已完成三轮融资。
据悉,这笔资金将主要用于首批车型量产、核心子系统研发、自动驾驶算法研究、人才招募等的持续投入与建设。零一汽车首批产品将分为两款车型,聚焦在短途货运市场,有望在2023年四季度实现量产与交付。
供应商方面,8月22日,钠离子电池企业深圳珈钠能源科技有限公司宣布完成A轮融资,本轮融资由春华资本领投,老股东顺为资本持续加注。目前,珈钠能源已经推出了千吨量产线。
综合来看,8月以来,汽车产业链上的各家企业在资本市场都比较活跃,其中又以造车新势力为最。哪吒、阿维塔以及极氪在资本市场的动向也意味着其正在迈向下一阶段的发展。
二、价格战持续影响 囤粮迎接挑战
8月以来,多家造车新势力在资本市场都比较活跃,而其背后的原因可能与今年上半年持续的价格战有一定的关系。
今年年初,由特斯拉掀起的价格战一直持续至今,从特斯拉宣布降价开始,蔚来、小鹏、问界等多个新能源品牌和诸多燃油车品牌纷纷降价跟随。
3月初,湖北省首先联合多家车企推出政企购车补贴,东风系汽车成为补贴的主要对象,补贴最高达9万元,各地更是一度出现去湖北抢购东风车的现象,此举更是让东风汽车股价创下近90日新高。随后,上汽大众又官宣降价,降价幅度从1.5万到5万元不等,拿出37亿资金补贴旗下20款车型。

▲上汽大众降价海报
到了6月中旬,蔚来又宣布全系车型起售价减3万元,并为新购车首任车主提供整车6年或15万公里质保等用车权益。
步入8月以来,极氪、哪吒和阿维塔三家车企也是直接官宣降价。8月11日,极氪汽车宣布对极氪001推出价格权益政策,降价幅度为3万~3.7万元。七夕期间,哪吒汽车对部分2022款哪吒S纯电动车型进行了调价,涉及5款车型,最高降价达到4.9万元。就在刚刚举行的成都车展前夕,阿维塔推出阿维塔11鸿蒙版,起售价30万元,比起老款车型相当于降价1.9万。

▲极氪001降价海报
可以看到,价格战对各家车企的影响是比较大的,几乎没有一家车企能够独善其身,而这场价格战还将继续持续下去,即使包括一汽、东风、上汽、比亚迪、长城、吉利、蔚来、理想、小鹏和特斯拉在内的16家车企曾联合签署《汽车行业维护公平竞争市场秩序承诺书》,但这也并未阻止价格战的持续。
价格战之下,车企被迫降价保销量,即使是这样,也有多家车企的销量依旧惨淡。
当然,价格战反映的是车圈的激烈竞争情况,各家车企除了降价,还在不断推出新车型,或者在改款车型上增配,而要推出新车型就得不断投入研发,尤其要在智能化和三电方面加大投入。
就这样,收入少了、投入多了,要想活下去,就必须寻求更多资金支持,对于企业来讲,融资是为数不多的办法之一。
今年6月,蔚来汽车获得中东阿布扎比投资机构CYVN Holdings的11亿美元(约合人民币80亿元)战略投资;7月26日,小鹏汽车也获得大众汽车集团7亿美元(约合人民币50亿元)投资,这两笔资金对他们来讲正是极大的助力。
几乎可以预想,在即将到来的金九银十,车圈的厮杀将会更加激烈。如果其他造车新势力也能够在现阶段拿到一笔可观的融资,那么至少可以保证他们在短期内不会在激烈的竞争下走向覆灭。
结语:车圈竞争还在加剧
近三年以来,几乎每年都在谈到车圈寒冬,疫情期间已经倒下多家造车新势力。但直到疫情结束,大家才发现车圈最难捱的时刻才真正到来。
今年的价格战几乎是近几年降价幅度最大、影响范围最广、持续时间最久的一次,而要想打赢这场价格战,车企必须做好更充足的准备。
目前来看,现阶段的一些融资只是这场价格战之下的一些粮草储备罢了。