
车东西(公众号:chedongxi)
作者 | 晓芳
编辑 | Juice
造车2年,花了50亿+后,小米汽车到哪一步了?
根据小米2022年的财报,其在电动汽车的研发上投入了31亿元,作为新手玩家,对比“蔚小理”去年研发投入的108.363亿元、52.1亿元、67.8亿元,其实小米在研发上的投入也并不算小。
▲小米在电动汽车研发投入31亿元
同时,加上小米2021年在自动驾驶产业链上下游企业如芯片、传感器等方面的20亿元投资,小米这两年在汽车方面的投入,已达50亿元+。
距离小米宣布造车起已经过去了两年,而距离小米所给出的实现2024年上半年量产的日子也在缩短,那么小米能按时交卷吗?
小米在2022年的财报中表示,2024年上半年量产计划将维持不变,那么车辆至少会在今年年底发布。
不过,量产的真正实现还是要靠实打实的造车投入,团队建设、工厂建设以及技术研发,一样都不能少。
小米也确实在紧锣密鼓地筹备中,自宣布造车以来,已申请专利401项,投资近30家公司,研发团队达2300人,工厂已选定分两期建设。
也就是说,一年后,我们也许真能在路上看到小米汽车的身影。
一、首款车型两种配置 自动驾驶小有成效
那么宣布造车两年多后,小米的车到底长什么样呢?
1月5日,有网友在小米科技园附近拍到疑似为小米汽车的伪装车辆。
▲小米汽车网传测试谍照
该车辆整体采用了轿跑的设计,车头较平车身较宽,大溜背的造型使其得到“酷似帕拉梅拉”的评价,此外也还有人认为该车“长得像比亚迪汉”。从谍照细节可见,该车配备了黄色卡钳,并采用了多辐式的轮毂,拥有轿跑外形的同时还具有运动属性的特征。
这款车的挡风玻璃上方的“犄角”造型也说明其配备了激光雷达,据悉,该车还会配备固态补盲激光雷达,可见小米首款新车具有高阶的自动驾驶辅助功能。
同时,在1月28日,又有一张疑似小米汽车的设计效果图在网上流传。
▲小米MS11网传设计效果图
从流传的效果图来看,整体观感与Model 3十分接近,车辆顶部采取了巨型一体式天幕,侧面造型为溜背轿跑样式。
前脸部分采用了封闭式格栅设计,仅在最下方保留了进气口,这一设计风格看上去与智己L7比较接近。
▲小米MS11网传设计效果图前脸与智己L7对比
并且,小米首款车型规划的高低两个配置都搭载了高通下一代智能座舱芯片和英伟达Orin X芯片,并支持激光雷达,此外也采用了两种不同的配置方案:低配车型计划采用400V电压平台,将搭载比亚迪的磷酸铁锂刀片电池;高配车型计划采用800V电压平台,搭载宁德时代最新推出的三元麒麟电池。
虽然MS11设计效果图在网上传得火热,但是官方对此并未回应,小米汽车的真身还有待在发布会上才能看到。
此外,有知情人士透露,小米的第二款量产车也在研发中,内部代号为Le mans勒芒,预计于2025年推出。
值得注意的是,小米汽车于去年11月在自动驾驶方面也有所成效,并用一段demo视频展示了自家的自动驾驶技术。
视频中,经过改装的小米自动驾驶测试车可以顺利进行无保护左转、自动掉头、多车道路口左转、环岛绕行、自动泊车等共计30个功能。
▲小米自动驾驶测试车自动泊车入位
根据视频显示,小米汽车的自主泊车功能表现的还很不错,只要在手机上选好车位,车辆就会自动进入车库,经过连续坡道后,宛如一位老司机在狭窄的车库内自动前进,最终找到车位完成自主泊车。
单从视频来看,小米去年的自动驾驶成绩就已经能够达到L2++,很是亮眼。不过,对于大部分自动驾驶公司来说,做一个demo展示问题不大,真正的实力还要通过量产车来实现。
二、多位大牛加盟 团队达2300人
造车自然离不开专业的团队班子。
根据小米发布的2022年财报来看,小米的汽车业务研发团队人数达到了2300人,已远超雷军去年8月所组建的500人团队,并制定了全栈自研算法的技术战略,目标在2024年进入行业第一阵营。
▲小米汽车业务研发团队人数约为2300人
在小米汽车公司成立之际,小米就公布了参与造车的17位成员,不过根据发布的图片来看,除宝马外观设计师李田原(图中12号)以外,成员多为小米管理层人员以及早期员工,可见小米造车的早期团队成员主要来源于内部转岗。
▲小米汽车注册时成员合影
随后,原吉利研究院院长胡峥楠加入顺为资本,而顺为资本创始合作人之一正是雷军。在2022年1月,原北汽极狐总裁于国立被小米集团任命为小米汽车副总裁,直接向雷军汇报;同年8月上汽通用五菱销售公司总经理周钘加入小米,担任营销方面的负责人,但是在今年2月下旬有消息称,周钘已经离职。
同时,根据小米的财报透露,在过去的5年中,小米也在通过外部人才吸引来使集团的整个团队更加专业化,估计小米汽车团队也是通过大规模的人才引进来充实的,对于汽车领域经验基本为零的小米来说,不失为一条捷径。
三、年产量30万辆 一期工厂6月竣工
与团队组建同时进行的工厂建设也在紧锣密鼓的进行中,今年6月小米汽车的一期工厂就即将竣工。
在2021年11月,北京经开区就宣布,小米将在经开区建设小米汽车总部基地、销售总部以及研发总部。
同时,小米汽车也会在北京自建工厂,工厂共分两期建设,累计年产量30万辆,一、二期产能分别为15万辆。
小米汽车选择落户北京经开区想必也和经开区良好的区域优势分不开,这一区域内拥有北京奔驰,北汽新能源等整车企业,同时,拥有完整的新能源汽车产业链。
并且,这一地区还是北京市主要的自动驾驶示范区,对小米汽车在自动驾驶方面的研发及测试也会大有裨益。
最后,通过小米的财报信息,小米汽车将维持2024年上半年量产计划不变,今年6月,小米汽车的一期工厂即将竣工,届时应该也能顺利进行量产,实现原定量产时间。
▲小米汽车2024上半年量产计划不变
不过,对于小米造车资质的问题,有消息称,小米汽车的生产资质或来自北京市特批,将把宝沃汽车的资质让给小米,从小米汽车入选为北京市2022年300个重点工程计划来看,确实有此可能。
四、专利申请401项 投资公司近30家
为了造车,小米在核心技术研发上也是埋头苦干。
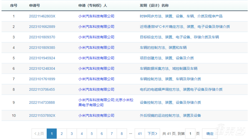
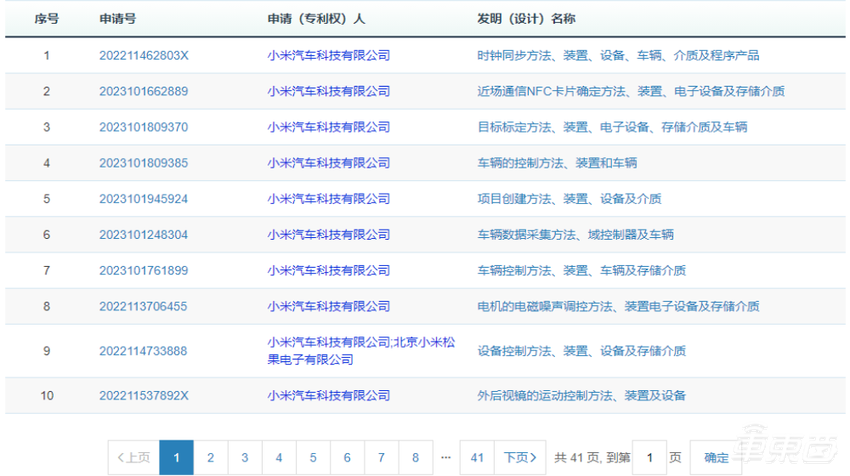
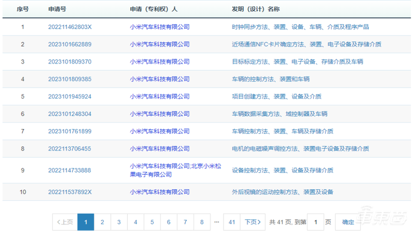
根据国家知识产权的信息,小米自宣布造车以来,截止3月28日,共申请专利401项,涉及了自动驾驶、智能座舱、充电装置以及动力系统等方面的专利。
▲小米汽车申请专利部分截图
车东西梳理了小米汽车3月份的专利公布情况,共计19项,其中智能座舱8项、自动驾驶7项、充电装置1项、动力系统2项、行车安全1项。
▲小米汽车2023年3月专利汇总
可以看出,小米主要在智能座舱和自动驾驶方面发力,这也是电动汽车走向智能化的重要方向,也许,小米汽车或将基于其原始生态,依托原有团队和技术,快速布局智能化,形成小米的智能生态。
除自研核心技术外,小米还投资了多家芯片、激光雷达、自动驾驶以及电池等领域的企业,以打通技术上的连接壁垒。
仅在动力电池领域,小米就投资了6家公司,分别为:锂离子电池材料商法恩赉特、卫蓝新能源、蜂巢新能源、中创新航、珠海冠宇以及赣锋锂电。其中,中创新航、蜂巢新能源以及珠海冠宇为业内知名电池供应商。
在芯片领域,小米在宣布造车后的同年9月,就投资了黑芝麻智能;次年3月投资了芯片设计公司慷智集成;今年1月又投资汽车电子芯片厂商鸿翼芯,并于今年2月投资了大算力芯片供应商辉曦智能。
在自动驾驶以及自动驾驶解决方案上,目前已投资了纵目科技、几何伙伴、智行者以及Momenta,同时收购了自动驾驶公司深动科技,投资了线控底盘供应商千顾科技。
其中,纵目科技与几何伙伴的研发都涉及到4D毫米波雷达,同时,纵目科技的量产客户包含长安汽车、一汽红旗等;智行者以及Momenta目前都是国内无人驾驶技术产品方案比较成熟的企业。
在自动驾驶核心的传感器领域,小米投资了4家激光雷达公司,包括速腾聚创、禾赛科技、北醒光子以及图达通。
总的来看,小米在电动汽车上投资企业较多,同时,涉及到了智能驾驶的各个领域,这样一来,可以很好地帮助小米汽车形成自己的汽车产业生态链。
结语:小米能改变新能源市场格局吗?
在汽车四化浪潮的带领下,汽车产业迎来了巨大的变化,而在这一过程中,也让小米有了跨界进入汽车领域的机会。
目前互联网企业如百度阿里等都已经在汽车领域占据了一定的地位,现在华为也在汽车领域取得了一定成果,小米作为入局尚晚的玩家,又能否像当初改变国内智能手机市场一样,改变新能源汽车市场的格局呢?答案或许明年就能揭晓。