车东西(公众号:chedongxi)
作者 | James
编辑 | 晓寒
特斯拉造车的秘密又被曝光了!
最近,美国专利商标局公布了多项有关特斯拉火星皮卡Cybertruck的专利,专利包括车机系统、太阳能后备箱盖板、耐用玻璃、电磁感应的雨刷以及电池底盘一体化制造方式等多个领域。
特斯拉Cybertruck早在2019年已经发布,但最早一批量产车型要等到今年年底,因此这款看似来自未来的皮卡车,有太多令人感到好奇的新技术,这款车也是特斯拉电动先驱精神的最佳体现。

▲特斯拉Cybertruck
此次公布的专利文件中,首次公布了Cybertruck的车机界面,相比Model 3/Y车型的固定显示区域有了更多灵活性,显示内容能自适应调整大小。同时,特斯拉还泄漏出610英里(约合982km)续航的Cybertruck车型、这一版本马斯克甚至都没在发布会上提到。
皮卡后备箱配备太阳能充电盖板,能像卷帘门一样自动收纳、自动展开,盖一天能让车多跑24km。特斯拉在车内甚至为你准备了半个家,有床,甚至还有厨房,后备箱打开厨房套件,周末出游幸福感大幅提升。
犹记得Cybertruck发布会上被砸碎的车窗玻璃,特斯拉专利中的耐用玻璃可能会让Cybertruck的车窗强度更高,更耐受重击。
特斯拉Cybertruck专利的公布,标志着这款车距离量产交付已经越来越近,同时特斯拉Cybertruck量产版本的细节正逐渐清晰。
一、车机系统大改 3A大作流畅玩
如果你曾经驾驶或者乘坐过特斯拉Model 3或者Model Y,车机系统一定是最吸引你的车内元素。车辆不再有仪表、中控、功能按键,而是将所有功能集成在了15英寸的中控屏内。
特斯拉Cybertruck作为一辆面向未来的皮卡车型,内饰设计更为激进,方向盘从传统的圆形变为了F1赛车上才能见到的矩形平底方向盘。前排中央大屏的尺寸和Model 3车型接近,但是界面有了很大变化。

▲特斯拉Cybertruck车机界面(2019)
近期公布的一篇名为《用于增强可操作性的车机系统界面》的专利中,特斯拉官方首次公开了车机系统界面。相比现售Model 3/Y两款车型,Cybertruck的车机大有不同,界面更简洁同时更加易用。
现售特斯拉Model 3/Y的车机系统的主页可分为三个区域,分别是左侧的仪表区域,右侧的导航、娱乐区域,以及下方的功能按钮区域。而在Cybertruck中,车机系统的主页可以在两个或三个分区之间自由切换。

▲特斯拉专利中的车机系统截图
功能按钮区域位于屏幕左侧纵向放置,这样一来距离驾驶员更近,驾驶过程中更容易触摸到关键内容。同时,功能按键整体位置抬高,驾驶员低头的程度可以大幅减少。
速度表、档位显示在屏幕左上角,时间、续航等其他参数显示在屏幕右上角。这里特斯拉还放了一个彩蛋,截图显示Cybertruck的续航里程能够达到610英里(约合982km),相比此前公布的参数有大幅提升。目前特斯拉官网所公布的Cybertruck的续航最高EPA续航估计值为500英里(约合805km)以上,也就是量产车型的续航能力可能更加惊人。

▲驾驶过程中有更大的模拟界面
Cybertruck车内的这块屏幕其他区域全部用于显示车辆行驶状态、导航以及娱乐信息。车内模拟车辆行驶状态的区域不再受限,整个屏幕都能充分利用。这样一来,在车内的大屏上能够看到周围更多车道的车辆,前方路况也更加清晰。
同时,车机系统也能智能地将前台应用尽量靠左放置,方便驾驶员操作。驾驶过程中搜索音乐、调节空调,这些功能全部集中在屏幕左侧更靠近驾驶员的区域。
虽然特斯拉Model X和Cybertruck都是越野取向的车型,但用户群体和使用场景完全不同,Cybertruck的实际行驶工况可能会非常复杂。因此,特斯拉为Cybertruck开发了车机“越野模式”。

▲特斯拉Cybertruck越野模式
在山路行驶过程中,特斯拉Cybertruck除了能够在没有车道线时准确识别路的方向,还能识别路旁岩石的形状,并呈现在车内屏幕中。为方便驾驶员判断,Cybertruck还能够显示当前车辆的俯仰角度和侧倾角度,防止车辆发生侧翻。
此外,特斯拉还为Cybertruck新增了阅读新闻的功能,这一功能是首次出现在特斯拉的车机上。
今年年初,特斯拉在正式发布新款Model S/X就表明,这两款车的车内能玩许多3A游戏,并且其算力能够达到10teraflop(每秒10万亿次浮点运算),能够在车内玩巫师3、赛博朋克2077等多款游戏。

▲新款Model S兼容多款游戏
即将开启量产的Cybertruck有望也能搭载最新一代AMD Ryzen CPU和RDNA2架构的GPU,想想在Cybertruck当中玩赛博朋克2077,肯定别有一番滋味。
二、拖着房车上野外烧烤 新功能都在测试中
特斯拉Cybertruck车身拥有巨大的空间,两排座椅拥有6个座位,后货箱能装下一台特斯拉的沙滩车ATV。Cybertruck亮相时,特斯拉还它想好了另外两个实用用途,一个是车内厨房,另一项是后方拖车。

▲特斯拉Cybertruck后备箱能装下一台沙滩车
发布一年半以来,可能很多人已经认为这两个功能就是特斯拉的展示功能,量产车中并不会原厂配备。
不过,事实恰好相反,特斯拉在专利中还专门提到了这两项功能。

▲特斯拉Cybertruck拖车模式
车辆和拖车连接挂钩一直是拖车使用过程中的痛点。特斯拉Cybertruck能够在车机上显示三个倒车影像,分别来自车辆侧后方和正后方。同时,在车机右侧还能显示车辆挂钩与拖车挂钩的相对位置和距离,并且能够在车内电动挂上挂钩。也就是说,驾驶员几乎可以看着屏幕倒车,就能实现挂上挂钩的操作。而在此前,这项工作普遍需要两人配合才能完成。

▲特斯拉专利中的拖车模式
同时,特斯拉的这套房车拖车最终应该也会量产面世,如果价格合适,或许可以考虑先买车,后买房。毕竟房车挂件的宽度、高度明显比特斯拉Cybertruck大出一圈,内部空间肯定更有保障。

另一个有趣的功能是Cybertruck的厨房套件。或许特斯拉一直想让Cybertruck变成人们的家,除了床铺之外,厨房都准备好了。

▲特斯拉专利中的厨房模式
正常行驶过程中,厨房套件可以收纳进货箱内,有需要时就能展开形成一个开放式厨房。这项功能不仅在野外露营时能发挥重要作用,日常使用或许也是一个不错的选择。
三、玻璃到底耐不耐砸?新型双层技术更坚硬
时间回到2019年11月,在特斯拉Cybertruck发布会上,马斯克声称Cybertruck的玻璃十分坚硬。用铁球砸向玻璃,结果意外的是,玻璃碎了。这几乎已经成为特斯拉绕不过去的一个梗了,特斯拉甚至还为此推出了一件周边文化衫。


▲特斯拉Cybertruck发布会现场(上)和周边T恤(下)
近期公布的特斯拉Cybertruck专利中,恰好有一项是关于玻璃的,名为《耐用的车用玻璃》。这项专利阐述了特斯拉双层玻璃的组成,还阐述了如何从材料角度让玻璃强度更高。
专利中说,车用耐用玻璃并非是一项新奇的技术,行业内很多厂商都在发展。耐用玻璃在受到冲击时不会破碎成玻璃渣对他人造成伤害,同时也有隔音的效果。
传统钠钙玻璃的成分中拥有一个硅氧烷键,但是遇水之后可能导致硅氧烷键断开,玻璃强度下降,最终可能导致挡风玻璃碎裂。

▲传统玻璃遇水可能更容易碎裂
特斯拉耐用玻璃共分为三层,分别是外层、内层和夹层。其中,外层采用非钠钙硅玻璃、低CTE高密度玻璃。外层玻璃的厚度最厚,在2~5mm之间。内层玻璃采用强度很高、柔韧性好且非常薄的强化玻璃,厚度在0.5~1.1mm之间。

▲特斯拉双层玻璃结构
两层玻璃之间的夹层可以在玻璃受到冲击时吸收能量达到缓冲效果,如果用于天窗,还能加入隔热材料起到隔热效果。在实际生产中,可以根据需要调整中间夹层的成分,包括吸光层、反射层、声阻尼层等,起到不同效果。
研究人员实际测试发现,使用这种材料的玻璃无论是外层、内层还是整块玻璃,受到2焦耳级别的冲击力(一块质量为0.5kg,接触半径为25mm的钢制材料,从0.4m空中自由落体冲击)时,碎裂的可能性仅有10%,达到很好的可用效果。
不过,此处还有一个情况。现有大多数配备L2级自动驾驶的车辆都拥有前视摄像头,这一摄像头通常安装在前风挡内侧,透过挡风玻璃探测外界环境。摄像头不像人眼,能对玻璃造成的畸变“脑补”校正,因此,这也对挡风玻璃做出了新的要求。
特斯拉给出的解决方案是,摄像头区域的玻璃,其光学畸变需要小于250毫屈光度(也就是要求玻璃尽可能平整)。
四、太阳能后备箱盖来了 盖一天能多跑24km
在Cybertruck发布一年半之后,要说还有哪些秘密,想必后备箱盖如何自动收纳必定得排在前列。
传统皮卡的后备箱通常没有原厂配备后备箱盖,车内货物很容易失窃,同时后装市场的产品与车辆不一定完全匹配。最重要的是,后备箱盖板通常需要两个人协作安装,一个人无法完成。这些原因都导致皮卡后备箱的使用效率降低。

▲已关闭后备箱盖板的特斯拉Cybertruck
为解决这些痛点,特斯拉给出的解决方案是,加装一个能够电动开合的盖板。并且,特斯拉还在这个盖板上铺设了光伏发电板,日间能够给车辆的动力电池充电。并且充电一天,能让车的续航增加24km。

▲后备箱盖板结构
后备箱盖板由许多个活动部件组成,外观类似于生活中常见的卷帘门。每两个部件之间通过铰链相连接。在后备箱盖板完全展开时,两个部件之间还有胶垫扣住,起到防水的作用。
在车辆后轴前方,就是后备箱盖板的收纳位置,通过电机驱动,从而能够将整个后备箱盖板卷成柱状体。

▲后备箱盖板像卷帘门一样收纳
特斯拉称,这种后备箱盖板拥有多种尺寸,单个活动部件的宽度可以在25mm~100mm之间的多种宽度,长度可以在1200mm~1900mm之间。并且,图示后备箱盖板的长度为1600mm,这也就意味着Cybertruck的后备箱盖板的长度应当是1600mm。
为了减小活动部件的噪音,特斯拉在盖板轨道的两侧加装了胶垫,确保盖板与车体紧密贴合,以此减小噪音。

▲后备箱盖板的减震组件
后备箱盖板确实能够在一定程度上解决传统皮卡后备箱使用过程中的痛点,但是特斯拉还面临另一个痛点。盖板卷起来之后,体积这么大,动力电池的位置岂不是被压缩了。
对于这个问题,特斯拉并没有在专利中作出明确解释。
五、电池车身一体化 电池日已经透露
去年9月举行的特斯拉“电池日”上,马斯克宣布未来将采用电池车身一体化的架构,将电芯直接装入底盘,成为车辆底盘的一部分,这也被称为CTC技术。


▲特斯拉电池日展示的CTC技术
根据此前公布的图像,特斯拉Cybertruck的车身就是一体成型的,因此能够直接使用CTC技术。当时,特斯拉认为使用CTC技术后,能够减轻10%的车身重量,同时还电池更接近车身中心,能够更好平衡车身,提升稳定性。

▲特斯拉Cybertruck一体成型车身
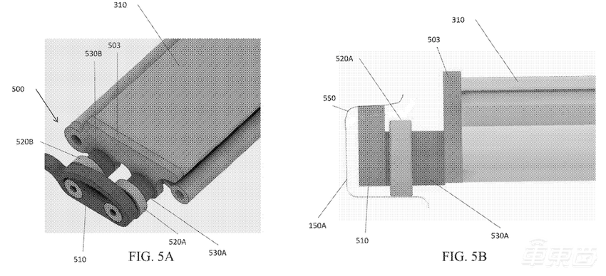
在《集成式储能系统》专利中,特斯拉提到,现有大多数动力电池方案都是电芯—模组—电池包的方案,每一次“打包”实际都在物理上限制了电池的能量密度。
采用CTC技术的电池包共有三个部件,分别是电芯、密封组件和框架结构。在安装之前,电芯之间的串、并联已经完成,安装过程中添加密封组件,保证电池在稳定的状态下工作。框架结构主要为上下两层盖板,其中包括外部框架、接口以及安全组件等多个部件。

▲特斯拉电池包
特斯拉在专利中指出,采用CTC技术的电池包自身已经是车架结构支撑的一部分。因此在发生碰撞时,电池包底部能够吸收一定的能量,减少电芯损坏的可能性。

▲特斯拉CTC技术电池包安装方式
另外,电池包的上下包裹面并非完全平整。这是因为,一旦电池包受到挤压,缝隙处就可以及时排出内部产生的气体,避免发生更多危险。

▲特斯拉电池包
实际上,除了提升能量密度、增加续航之外,特斯拉此举也是为了尽可能降低造车成本。
六、纯电皮卡大热背后 智能化是角逐关键
从2020年以来,纯电皮卡的热度越来越高。通用汽车在去年10月首先发布了纯电悍马皮卡车型,就在上个月,福特汽车发布旗下王牌皮卡F-150的纯电版车型F-150 Lightning。此外,美国造车新势力Rivian旗下的首款车型R1T也将在7月正式交付美国市场。

▲四款纯电皮卡参数对比
由此可见,美国的纯电皮卡市场正在被各大车企一点点发掘。
在正式交付前,车东西也对几款纯电皮卡做了参数比较。其中,福特F-150闪电无疑拿下了最低的起步价格,这一价格甚至和美版特斯拉Model 3的价格差不多了,价格非常低廉。

▲福特F-150闪电
相比之下,悍马EV的价格在四款车中最贵,起步售价是特斯拉Cybertruck、福特F-150闪电的两倍。

▲悍马纯电皮卡
智能化方面,四款纯电车型同样非常优秀,都配备了L2级自动驾驶系统。甚至除了特斯拉之外,其他三款车型都支持了脱手的L2级自动驾驶。
例如,悍马纯电皮卡就配备了通用汽车SuperCruise超级巡航自动驾驶系统增强版,可允许驾驶员松手松脚实现L2级自动驾驶。如果车辆判断前方车辆速度过慢,还能主动超车。
▲SuperCruise超级巡航增强版
福特F-150闪电可以选配福特BlueCruise自动驾驶系统,能够实现车道保持辅助+起停控制的自适应巡航的L2级自动驾驶功能,并且能在北美10万英里(约合16万公里)的高速公路上,允许驾驶员脱手驾驶。此时,驾驶员仅需将视线停留在道路上即可,车内通过摄像头和雷达感应技术始终监测驾驶员状态。

▲Rivian R1T
Rivian的每辆车都标配Driver+自动驾驶系统,能够实现车道保持辅助+自适应巡航的L2级自动驾驶能力,还能根据驾驶员的指令变换车道。在Driver+系统工作时,驾驶员可以松开双手。未来,Rivian将不断扩大Driver+的可用路况。
特斯拉Cybertruck配备的是和自家其他车型相同的完全自动驾驶能力(FSD)自动驾驶系统,包括自动导航辅助驾驶、自动辅助变道等多项L2级自动驾驶功能。
由此可见,最受美国用户欢迎的皮卡角逐的重地已经不再是豪华的内饰,同时电动化领域的竞争难以一较高下。反而,不同厂商之间智能化的竞争最为激烈,特别是在自动驾驶领域,这一现象尤为突出。
2019年年底,特斯拉Cybertruck发布的那一刻,就给皮卡行业带来了新鲜血液。从外观内饰的极简设计风格,到智能化的各项配置,特斯拉Cybertruck完全颠覆了传统皮卡的特性,同样也保留了强大动力和优秀的驾驶体验。
多款纯电皮卡的布局中,也能够发现传统汽车厂商通用、福特正在将一些新思路、新玩法装进纯电新车中。
