车东西(公众号:chedongxi)
作者 | Janson
编辑 | 志豪
无人物流赛道再现重磅融资!
车东西2月25日消息,车东西获悉,无人物流车玩家九识智能近日完成新一轮超3亿美元(约合人民币21亿元)融资,公司估值被指已突破百亿人民币。
关于本轮投资者构成,有消息称该轮投资方覆盖大型产业方、多个一线城市政府基金,以及市场化的美元与人民币机构。
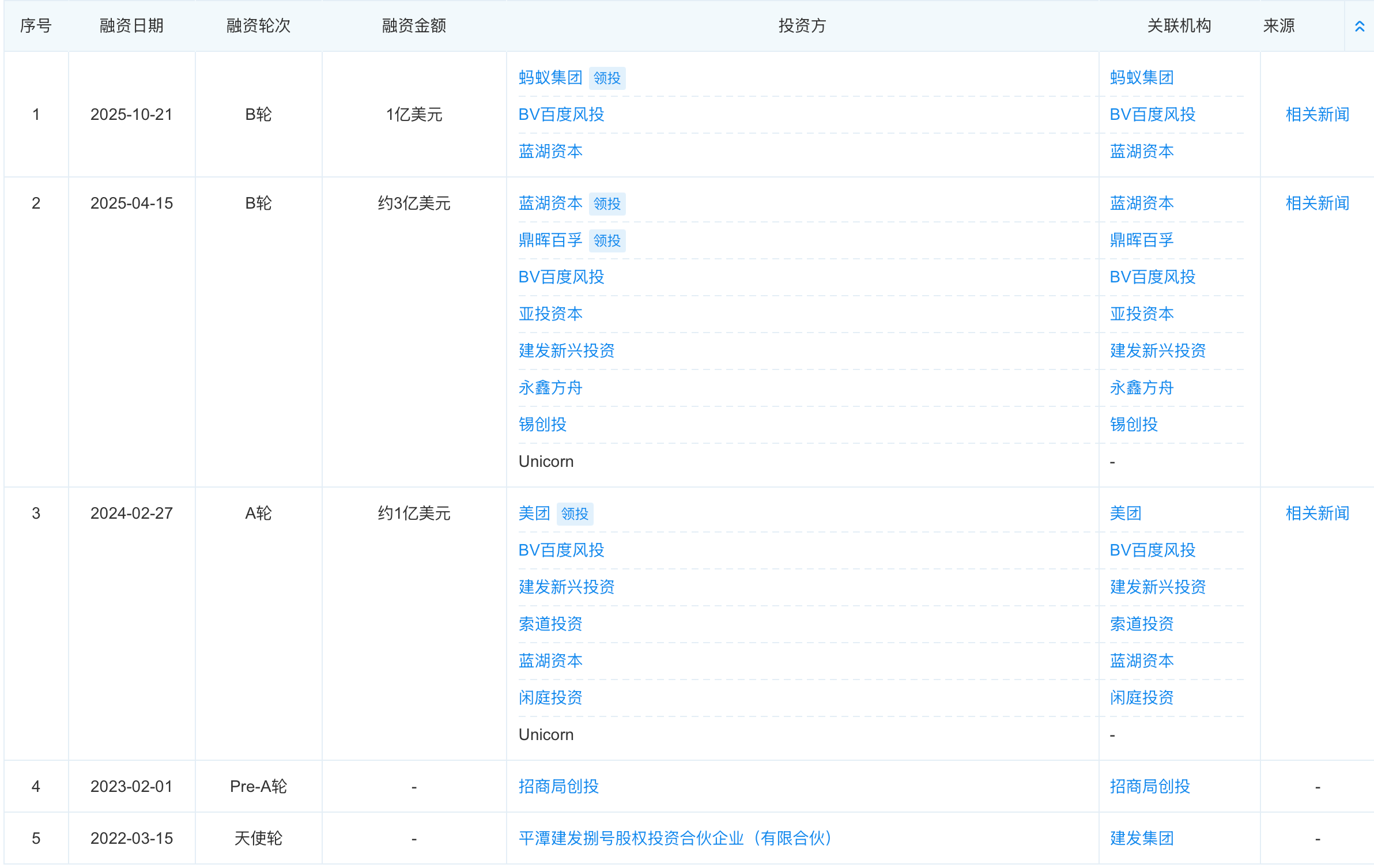
企查查数据显示,此前九识智能共进行了超5轮公开融资,累计融资金额超5亿美元(约合人民币35亿元),其中也有包括美团、蚂蚁集团、BV百度风投、蓝湖资本、鼎晖百孚、建发新兴投资及Unicorn等重磅投资机构参与。

▲九识智能历史融资信息(来源:企查查)
加上此次融资的3亿美元(约合人民币21亿元),九识智能已累计获得超8亿美元(约合人民币56亿元)的融资。
在业务层面,今年1月九识与菜鸟无人车业务完成战略合并,整合后将以“九识”和“菜鸟无人车”双品牌运营。

▲九识智能无人车车型矩阵
整合后,九识智能的车队总规模将超过2万台,覆盖全球300+城市与10余个国家/地区,这也成为了全球最大的无人物流车队。
从公司角度来看,九识智能以创始人兼CEO孔旗为中心,他本科至硕士就读于上海交通大学计算机系,后在百度体系长期从事AI与自动驾驶关键技术研发,曾在百度硅谷研发中心参与/推动Apollo核心技术框架相关工作,并担任过百度技术委员会委员。

▲九识智能创始人兼CEO孔旗
2018年前后,孔旗加入京东,曾担任京东集团副总裁、智能驾驶总经理,主导无人配送车从0到1及公开道路常态化运营等落地实践
随后,孔旗带队在苏州创业,成立了九识智能,聚焦城配B2B无人物流场景。
不难看出,当下无人货运正从“试点验证”进入“规模爬坡”,资本市场也十分看好,多次加码该赛道。
随着车队规模、渠道网络与场景数据积累的不断放大,无人物流车赛道或将加速赛道分化与集中。