车东西(公众号:chedongxi)
作者 | Janson
编辑 | 志豪
车东西1月5日消息,日前,专注特种无人驾驶领域的智行者科技宣布完成新一轮4亿元人民币融资,投资方为黄石市国有资本投资集团有限公司管理的黄石市产业发展基金。
公开信息显示,智行者成立于2015年,核心团队源自清华大学汽车工程系,致力于打造“无人驾驶大脑”,通过“技术平台+场景化产品”的双轮驱动模式,将全栈自动驾驶技术应用于公共安全、生活服务、智能出行等多个领域。
智行者自成立以来已完成超过10轮融资,投资方不乏英诺、北汽、京东、顺为、百度、厚安(厚朴/Arm)、中信证券等多家知名机构的投资,也展现了资本市场对其技术实力和商业潜力的高度认可。
智行者方面表示,本轮融资将强力驱动其在特种无人驾驶核心技术研发、高端产品矩阵拓展及“无人驾驶+智能制造”融合生态构建上的布局。
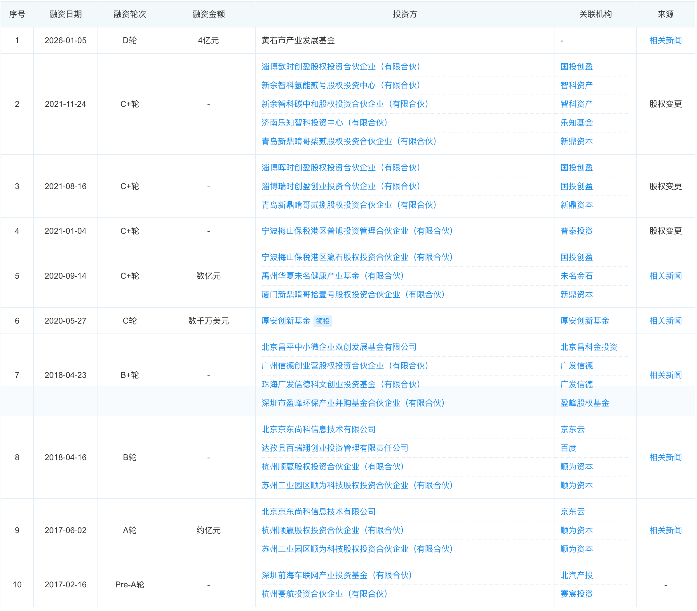
一、十年拿下超10轮融资 多家大牌机构投资
从智行者的融资经历来看,从2016年7月的天使轮起步,臻云创投和英诺天使基金投入约100万元,助力公司完成早期探索。
随后在2017年6月,英诺资本领投的Pre-A轮融资达2000万元,用于技术验证和蜗小白等产品开发。

▲智行者融资历程(来源:企查查)
2018年,公司迎来关键的B轮阶段,百度领投B1轮,顺为资本和京东跟投。紧接着,广发信德、盈峰投资等参与的B2轮。
2020年5月,厚安创新(厚朴投资和Arm共创)基金独家投资C+轮。
2023年,智行者完成新一轮股权融资,注册资本增至1663.041万元,并获“瞪羚企业”和“独角兽企业”认定。
直至目前,智行者最新一轮融资便是刚刚完成的,由黄石市产业发展基金投资4亿元,此次投资重点面向特种无人驾驶核心技术、高端产品矩阵拓展,以及“无人驾驶+智能制造”融合生态的构建。
二、专注无人驾驶 商业化产品已落地
从智行者已经落地的产品来看,其以“无人驾驶大脑”为核心,构建软件、硬件、数据三位一体的技术体系,形成“蜗”系列低速无人车与“星骥”高速自动驾驶系统的产品矩阵。
在低速领域,蜗小白环卫车已覆盖国内百余城市、超3000个客户场景,累计清洁面积达数亿平方米,并进入全球40多个国家。

▲智行者的低速无人车
蜗必达产品线专注封闭区域物流配送,搭载自研AVOS系统,适应复杂环境。
蜗来了产品线则提供园区、景区等限定场景的无人通勤服务。
在2022年北京冬奥会上,部分场地内的无人驾驶车辆也是智行者负责提供。

▲智行者的Robobus
在高速领域,智行者的星骥Σ系列面向L4级乘用车,支持自主巡航、匝道进出、自动泊车等功能。H-INP系统采用“重感知、轻地图”路线,突破高精地图依赖,实现高速及城市快速路自动驾驶。
此外,智行者还布局特种车辆,具备三级保密资质,服务应急救援与安防场景。
依托“技术平台+场景化产品”双轮驱动,智行者通过AVOS软件、AVCU硬件及海量运营数据,形成技术闭环,验证大规模商业化落地能力。

▲智行者董事长、CEO张德兆
智行者的核心团队来自清华大学,现任董事长、CEO张德兆也是清华大学学士、硕士、博士,并拥有5年博士后经验。
他曾担任北京智华驭新汽车电子技术开发有限公司CTO、总经理,并于2015年6月,创立北京智行者科技有限公司。他主要从事车道偏离预警系统、360度全景系统、AEB(自动紧急制动)、ACC(自适应巡航)、LKS(车道保持系统)、无人驾驶系统开发。
公开信息显示,截至目前,智行者已获专利超过1200项,其中发明专利占比超60%,并参与了多项国家级及行业相关标准的制定。

▲智行者专利数量
在商业化推进方面,智行者已成功将其无人驾驶技术及相关产品应用于公共安全、生活服务、智能出行等多个领域,无人驾驶车辆商业化运营里程超过1.3亿公里。
在应急救援、清洁环卫、城市出行等特定场景中,其解决方案已实现规模化复制与全天候稳定运营,有效提升了作业效率与安全性。
结语:商用无人驾驶再获亿级融资
智行者科技此次完成4亿元新一轮融资,不仅是资本市场对其“无人驾驶大脑”核心技术与清华系团队实力的再次肯定,也标志着其商业化进程进入新阶段。
回顾十年发展,智行者凭借“技术平台+场景化产品”的双轮驱动模式,成功在低速环卫、物流配送及高速L4级自动驾驶等多个领域实现规模化落地,积累了超1.3亿公里的运营数据。
在特种无人驾驶与智能制造深度融合的趋势下,这笔资金的注入将助力其进一步拓宽产品矩阵。