车东西(公众号:chedongxi)
作者 | 颐圣
编辑 | 志豪
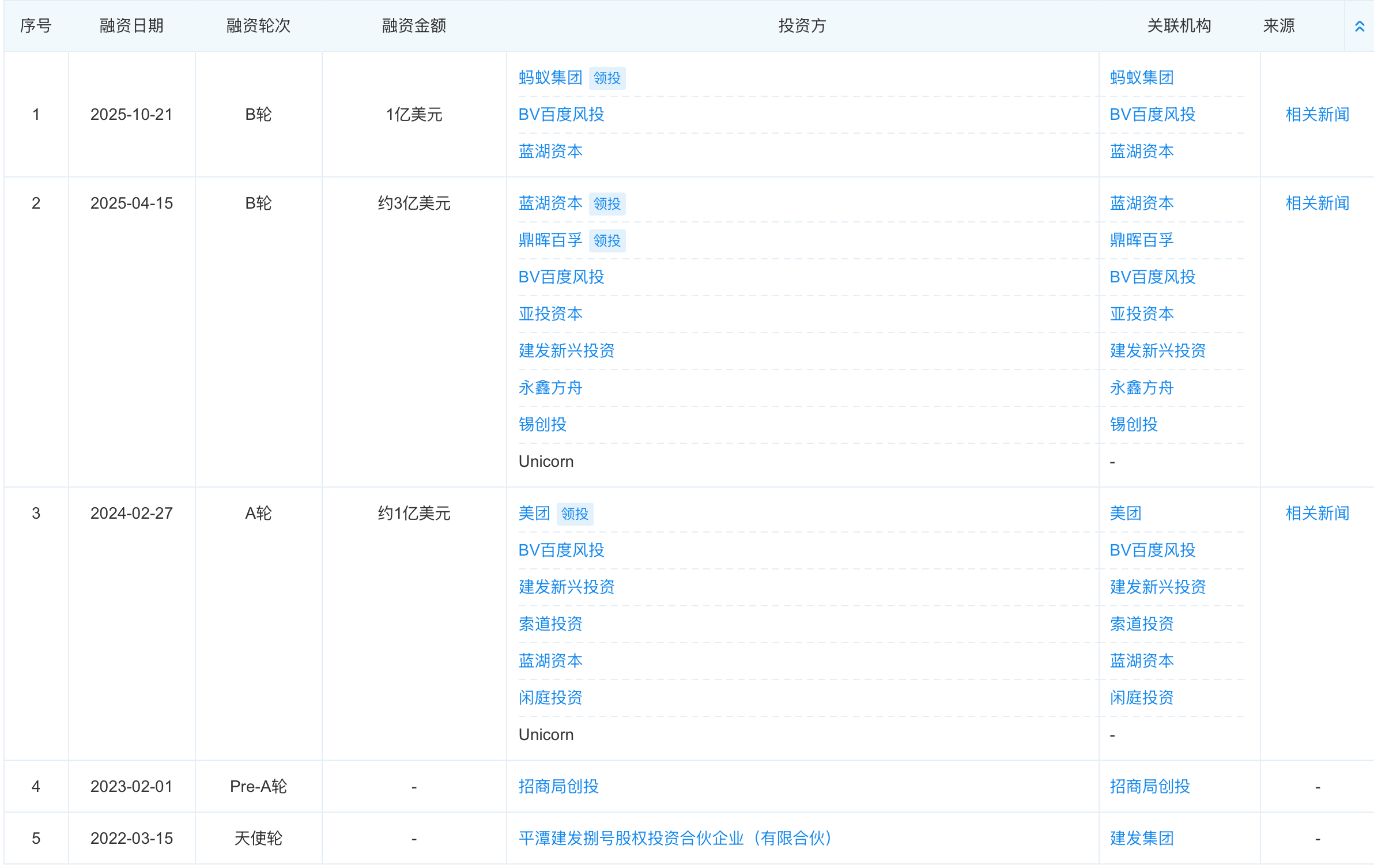
车东西10月21日消息,日前,专注于L4级无人驾驶货运技术的企业九识智能宣布完成B4轮融资,融资金额为1亿美元(约合人民币7.12亿元)。
据悉,本轮融资由蚂蚁集团领投,蓝湖资本、BV百度风投等新老股东共同参与。
截至目前,九识智能B轮融资总额已达4亿美元(约合人民币28.48亿元),成为2025年度中国科技企业中规模最大的融资之一,同时也是全球L4级无人驾驶领域的重要融资事件。
从企查查查询到的公开信息显示,九识智能A轮+B轮目前已经累计融资5亿美元(约合人民币35.6亿元)。

▲九识智能历史融资信息(来源:企查查)
九识智能表示,此次融资完成后将进一步加大在无人驾驶技术方面的研发投入,重点提升产品迭代能力、供应链自主可控水平、全球市场拓展速度以及客户服务体系的建设。公司目标是构建一个更智能、高效、绿色的全球无人货运网络。
一、主做L4无人驾驶货运 已有三大车系
作为全球最早专注于无人驾驶货运技术的团队之一,九识智能在技术创新和工程化能力方面具备显著优势。
公司率先推出了可在城市机动车道路行驶的中大型无人货车,开创了“L4 RoboVan”这一全新细分领域。其产品已覆盖快递快运、零售快消、生鲜餐饮、工业物流等多种城市配送场景,并通过部署基于L4级“无图技术”的解决方案,实现了即时配送的全域运营。
2023年5月,九识智能发布了全球首款量产的L4级中大型无人货车——Z5系列,标志着无人货运在城市道路的首次商业化落地。该系列不仅实现了整车销售与FSD订阅服务的结合,还推动了无人货运的大规模商业化应用。

▲九识智能无人车车型矩阵
截止到2024年6月,公司已完成Z2、Z5、Z8、Z10四款车型的矩阵布局,覆盖从窄路园区到重载长距等多种应用场景,适配快递、生鲜、工业物流等多元业态。
2025年5月,九识智能进一步推出面向轻抛货场景的E系列产品,首款车型为E6。该系列在车体重量和货箱体积方面进行了优化,旨在降低用户使用成本、提升装载效率,从而实现更高的运营效益。
在客户构成上,九识智能树立了包括国药器械(医药冷链)、佳通轮胎(工业物流)、新希望(生鲜商超)、牧原股份(农业供应链)等在内的各垂直行业标杆客户。
服务体系建设方面,其与天猫养车等企业构建了维修售后保障体系。
结语:九识智能加速落地RoboVan
随着本轮融资的完成,九识智能不仅巩固了其在无人驾驶货运领域的领先地位,也为全球L4级技术的商业化进程注入了新的动力。
随着九识智能产品矩阵和服务体系的持续完善,这家企业有望在全球无人货运网络的构建中扮演关键角色。