车东西(公众号:chedongxi)
作者 | 迩言
编辑 | 志豪
一年巨亏224亿,蔚来又走到了ICU门口。
车东西3月20日消息,就在刚刚,蔚来汽车董事长、CEO李斌和CFO曲玉一起,在蔚来2024年业绩电话会上,回应了蔚来的2024年业绩、2025年销量目标、盈利目标、新车规划、降本进展、乐道蔚来渠道整合等问题。

▲蔚来汽车董事长、CEO李斌(图左)
本次电话会涉及多个重点:
新车规划方面,蔚来今年将发布9款新车/改款车,其中包含一款重磅高端电车,将在今年Q3发布,有望带动毛利率增长。
销量和盈利目标方面,李斌确认今年依旧要卖车44万辆,4季度实现盈利,此外蔚来官方还预计,今年蔚来品牌将实现20%毛利率,乐道品牌毛利率将达到15%。
为了实现这些目标,蔚来正在降本上着重发力,CFO曲玉称,蔚来自研的1颗神玑芯片就能实现降本1万元。

▲神玑NX9031
李斌也回应了蔚来乐道渠道整合情况,目前已经开启整合尝试,但门店不会整合。而对于今年资金情况,蔚来方面也回应称融资渠道丰富,会灵活安排融资。
值得注意的是,这场电话会议持续超过1个半小时,这也是最近两周以来,车企财报电话会议持续时间最长的一次,电话会全程围绕“降本”、“盈利”、“销量”等关键词展开。
随着蔚来2024年财报交卷,车圈5大新势力车企财报业绩全部出炉。通过与理想、小鹏、零跑、小米4家新势力车企年报对比,过去一年,蔚来总营收达到657.3亿,同比增长18.2%,营收总额仅次于理想汽车(1445亿)。

▲5大新势力车企2024年业绩对比
同期,蔚来的净亏损达到224亿,同比增长8.1%,日均亏损超过6100万,净亏损总额几乎是小鹏汽车(57.9亿)的4倍。

▲何小鹏李斌同框
从毛利率对比来看,蔚来毛利率达到9.9%,仅高于零跑(8.4%),而和小鹏(14.3%)、小米汽车(18.5%)、理想(20.3%)相比还存在不小的差距。
截至2024年12月31日,蔚来现金及现金等价物、受限制现金、短期投资及长期定期存款的余额为人民币419亿元。按亏损速度,蔚来的现金储备都不够亏两年了。
蔚来财报的公布也引起了资本市场的变动,截至发稿前,蔚来美股股价跌超5%,报4.45美元/股(约合人民币32元),市值为93亿美元(约合人民币674亿元),而3月19日,蔚来的市值还一度达到了108亿美元(约合人民币783亿元),蔚来正在经历来自多方的严峻的挑战。
蔚来的未来何时能来?一切还得交给市场评判。
一、李斌依然自信 今年销量翻番Q4盈利
就在刚刚,蔚来管理层对今年蔚来汽车的发展重点以及目标做出了详细回应。
1、今年发布9款车 重磅高端电车Q3发布
对于新车规划,蔚来方面表示,下半年蔚来品牌会有一款新车上市,蔚来方面介绍称,“这款车毛利率和车型的定位都比较高,所以对于蔚来品牌的毛利贡献也会非常显著”。
此外,乐道L90会在4月份亮相,三季度开始交付,四季度乐道还有另一款车,这两款新车也是在一个相对高价位和高毛利的区间,会给乐道带来毛利提升。

▲乐道汽车已经官方公布乐道L90
2、蔚来坚定2025年目标:全年销量翻番、Q4盈利
除了公布新车规划外,李斌也提到了蔚来2025年的盈利预期和目标销量。
对于销量目标,李斌称,今年一季度蔚来预计销量增长 36%-43%,而全年销量目标依然是翻一番(44万辆)。
李斌表示,蔚来品牌一半以上销量集中在浙江、江苏、上海,原因是换电网络建设成熟。李斌还介绍到了换电站布局的最新进展,目前浙江除了两个海岛,本月底就会实现县县通。

▲蔚来换电站
而随着乐道销售团队、网络布局的完善,品牌知名度的提升,他对后续的销量成长很有信心。

▲乐道L60
对于降本和盈利目标,李斌说:“去年全年已经开始降本措施,全年降本目标实现得还是可以的,去年Q4毛利率达到预期。今年,会继续降本,Q2开始能看到毛利率提升。”
从今年Q1开始,蔚来也在公司内部全面降本措施,目标让全公司所有团队为经营负责,在研发端和市场端的费用方面,已经看到迹象。
李斌表示,相信从Q2开始就能看到成本和费用的改进,Q3会深化控制,随着销量的增加和毛利率的提升,有信心在Q4实现盈利的目标。
3、今年蔚来毛利率冲击20% 1颗神玑芯片降本1万元
蔚来CFO曲玉对蔚来的盈利目标进一步拆分,他表示,蔚来的目标是今年四季度实现盈利,具体品牌来看,蔚来做到20%的毛利率,乐道做到15%的毛利率。
不过,曲玉也进行说明,今年一季度是销售淡季,蔚来品牌产品5566正面临2025款切换,毛利会有一定压力。乐道销量不达预期,毛利也有压力。

▲蔚来ES6
为了实现盈利目标,降本是蔚来当前的重点工作之一。
当被问及蔚来如何降本,曲玉回应称,蔚来从去年开始进行了一系列降本工作,包括提升车辆零件通用化率。比如座椅骨架平台,蔚来、乐道共用,可以降低10%成本,智能硬件接口统一,帮助成本从2000元/车降低到1000元/车,1 颗神玑芯片相比4颗 Orin芯片成本降低1万元。

▲神玑NX9031
曲玉还说,2024年蔚来实现整车10%BOM降本,2025会继续做降本。
曲玉还介绍了汽车以外的其他业务盈利情况,包括2024年售后服务效率提升,换电站布局提升,而亏损没有收窄。技术服务的收入提升,达到2.2亿人民币。
曲玉预估,2025年如果不考虑技术服务,其他业务还会微亏,考虑到技术服务,可能会在某些季度带来正面提升。
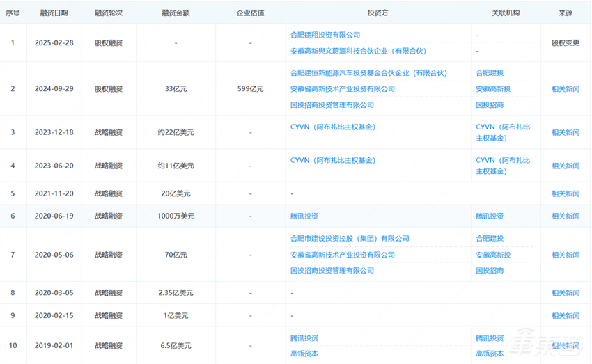
4、蔚来融资渠道丰富 会灵活安排融资
当被问及融资,蔚来汽车管理层表示,无论是美元市场,或人民币市场;无论是公开还是非公开的市场,公司融资渠道比较丰富。至于融资需求,会根据公司业务发展情况持续关注整个市场的动态,灵活安排资本市场的策略和融资计划。

▲蔚来部分融资轮次信息
5、蔚来乐道联系将更紧密 但门店不会合并
李斌也提到蔚来推进的双品牌战略,在售后、财务、人事等领域,蔚来、乐道正在进行资源复用,目前在一些区域尝试管理团队同时负责乐道、蔚来两个品牌的销售和服务工作。

▲乐道车型出现在蔚来的交付区域(图源网络)
但同时他也表示,不会在门店层面对蔚来、乐道进行合并,原因是用户群体有很大差别。
李斌还透露,目前有12个区域乐道的销量,超过了蔚来销量,这说明双品牌战略有积极意义。
6、乐道订单不及预期 李斌讲了三大原因
财报会上,李斌回应了此前乐道L60订单不及预期的问题,他表示,近期市场竞争、负面舆情对销量有30%-40%的影响。
紧接着,李斌进一步介绍了4个方面的原因。
他表示,乐道订单面临压力第一大原因是知名度,“首先乐道的品牌知名度远远低于竞品,根据调研,乐道的知名度相当于蔚来的三分之一。”李斌说,接下来会继续进行提升乐道知名度的工作。

▲乐道L60
第二大原因是销售门店不够,乐道上市时有105家门店,目前达到400多家,发挥店效需要过程,开了三个月的门店和新开门店效率差三倍,新开门店很快就能发挥作用。
第三个原因和销售人员有关,目前乐道品牌60%的人员是三个月内加入公司的,随着他们的培训完成,产出也在增加,能开单的销售也越来越多。

▲乐道门店工作人员讲解乐道L60
据李斌介绍,今年每个月乐道的新增订单都在增长,试驾量最近也在提升,每周都在创造试驾量的新高,相信会转化成销量。
其四,乐道前期电池供应不足,造成换电站电池周转出现问题,目前问题已经解决。在换电站多的地方,乐道的销售成绩是比较好的。

▲乐道汽车官方回应交付问题
二、日均净亏超6100万 流动负债超过流动资产
财报会上李斌立下多项业绩目标,而过去一年蔚来的多项成绩不容乐观。
根据蔚来官方财报,2024年蔚来实现营收657.3亿元,同比增长18.2%。全年汽车销售额为582.3亿元,同比增长18.2%。
▲蔚来汽车2024年财报数据
更加令人注意的是,蔚来全年亏损状况加剧。
2024年,蔚来的净亏损为224亿元,较上一年增长8.1%,平均每天亏损超6100万,经调整净亏损(非公认会计准则)为204.7亿元,较上一年增长11.6%。
特别是第四季度,蔚来净亏损超过71亿元,同比增长32.5%,环比40.6%,盈利压力不是一般的大。
▲蔚来汽车2024年Q4财报数据
销量方面,2024年全年,蔚来公司共交付新车22.2万台,同比增长38.7%。
▲蔚来2024年全年销量变化
毛利方面,蔚来2024年取得64.9亿元毛利,同比增长112.8%。毛利率方面,蔚来2024全年的汽车毛利率为12.3%,上一年度为9.5%,提升2.8个百分点,综合毛利率为9.9%,比前一年提升4.4个百分点。
研发投入方面,蔚来全年研发总投入为130.37亿元,同比下滑2.9%。
而对于蔚来2024年持有的419亿元资金,蔚来官网显示,2024年蔚来流动负债超过流动资产,但财务资源能够支持蔚来未来一年的运营。

▲蔚来回应称流动负债超过流动资产
三、一季度交付4万台 今年要发9款车
蔚来预计,2025年第一季度计划交付4.1万辆至4.3万辆新车,同比增长36.4%~43.1%。
同时,蔚来预计今年一季度实现营收123.67亿元~128.59亿元,约同比增长24.8%~29.8%。
根据官方数据,今年1月、2月,蔚来汽车分别交付了13863辆及13192辆汽⻋,前两个月累计交付2.71万台汽车。这也意味着,3月份蔚来汽车要交付1.39~1.59万台汽车。

▲今年前俩月部分新造车销量情况
根据李斌此前预计,乐道汽车在2025年3月实现单月交付超过2万台,同时2025年蔚来汽车公司总体销量要达到44万辆。
但是从前两个月的表现,以及官方对一季度的预期来看,蔚来汽车当前销量显然也没达到官方此前预期。
这也难免让业内对其2025年销量44万辆,2026年实现盈利的目标感到担忧。

▲蔚来汽车2025年销量变化(万辆)
很明显,蔚来面临的销售压力不小。
为了提振销量,蔚来在组织架构、现车促销、新车换代等方面持续发力。
有消息称,新款蔚来ES6、EC6、ET5、ET5T将于5-6月正式上市。而乐道汽车旗下第二款新车乐道L90,计划于今年二季度亮相,并于三季度正式上市。
同时随着第二季度的ET9、firefly萤火虫车型陆续交付,蔚来公司整体销量有望进一步提升,但必须承认的是,年销44万台目标依旧极具挑战性。

▲萤火虫预售价
结语:蔚来急切开启变革
在2024年,李斌提出了2025年销量同比100%增长的目标,但截至目前的数据来看,这些目标还较为遥远。
对此,蔚来开始开启了一系列改革尝试。当前,李斌以雷霆手段推进着全公司范围内的组织变革:多部门开启裁员,李斌管供应链,手机业务投入减少,乐道渠道整合……
蔚来的改款车型以及乐道、萤火虫等全新品牌车型也已经蓄势待发,牌已经攥在手里,就看如何出了,而蔚来的调整需要何时才能见效,需要一定的时间来验证。


