车东西(公众号:chedongxi)
作者 | 迩言
编辑 | 志豪
蔚来又融到钱了!
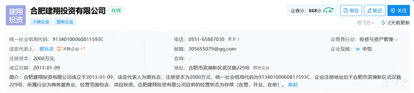
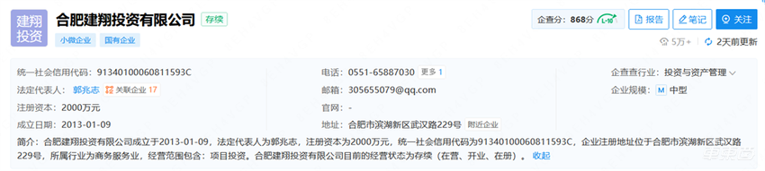
车东西3月6日消息,日前,企查查信息显示,蔚来控股有限公司发生投资人变更,新进投资人——合肥建翔投资有限公司,出资额2.86亿元,出资占比为3.46%,另一新进投资人——安徽高新舆文蔚源科技合伙企业,出资1.14亿元,出资占比为1.38%。

▲蔚来控股有限公司股权架构(图源企查查)
自此,蔚来控股有限公司的注册资本由78.57亿元增至82.57亿元。
值得注意的是,其背后的两个新进投资方均拥有国企背景,合肥建翔投资有限公司为国有独资企业,由合肥市人民政府国有资产监督管理委员会控股。

▲合肥建翔投资有限公司为国有独资企业
而安徽高新舆文蔚源科技合伙企业的实际控股人是安徽省人民政府国有资产监督管理委员会。

▲安徽高新舆文蔚源科技合伙企业由安徽国资委控股
蔚来控股有限公司此次增资,意味着这家从安徽走出来的新能源车企进一步得到了当地政府的支持,有望加快该公司在新能源汽车销售、充换电基础设施建设等方面的发展。
或受该消息影响,本月港股股价呈现些许下滑的蔚来,今日开盘后股价呈现小幅回涨,上涨2.42%,报33.9港元/股(约合人民币31.6元/股),市值为708.66亿港元(约合人民币660.5亿元)。

▲蔚来股价变化情况
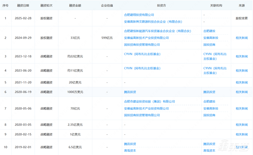
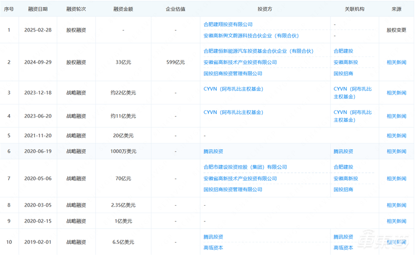
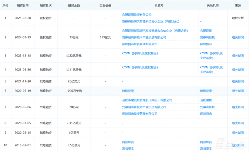
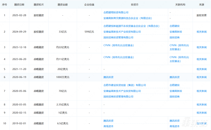
企查查信息显示,截至2025年,蔚来控股有限公司成立以来共进行16轮融资。
此外,有人还曾为李斌算过一笔账,截至去年9月,蔚来共融资了约1183亿元人民币。如果再算上这次,蔚来累计融资达到1187亿。

▲蔚来部分融资轮次信息
成功融资说明蔚来还是能够得到资本认可的,不过也不能忽视蔚来2025年面临的销量压力。
2025年前两个月,蔚来旗下两个品牌9款车型累计只交付了2.71万辆新车,这一成绩使得蔚来在理想(5.62万台)、小鹏(6.08万台)、零跑(5.05万台)、小米(4.0+万台)、蔚来(2.71万台)这5家造车新势力中垫底。

▲今年前俩月部分新造车销量情况
今年前俩月,蔚来月均卖车不到1.4万台,如果按照这个销量来算,一年的销量很难突破20万台。
而蔚来汽车CEO李斌今年的目标则十分宏伟:一年预计卖车44万台,2025年Q4单季度盈利。这也意味着,蔚来需要在今年剩下的10个月内,月均交付至少4.13万辆新车,才能实现年销目标,压力不是一般的大。
一、蔚来汽车销量压力大 今年多款新车待发
国资力量这次的介入,对蔚来汽车来说称得上是雪中送炭了。
刚刚过去的2月份,中国头部新造车企业销量排行中,蔚来汽车排在了第九位,2月卖车1.32万台,同比增长62.2%,环比下滑5%,比上个月少700台左右。

▲2025年2月中国新造车企业销量排行
其中,蔚来品牌交付9143台,乐道品牌贡献4049台。

▲蔚来公司2025年2月销量
从当前成绩来看,除了受到春节假期等外部因素影响外,蔚来品牌产品正处于更新换代周期,一定程度上也影响了销量。
此外,承担蔚来销量重担的乐道品牌,其销量成绩显然也没有达到官方预期。
广州车展上,乐道汽车总裁艾铁成曾豪言壮语地立下销售目标:2024年12月单月交付破万台,2025年1-2月冲击1.5万台,3月达到2万台,并誓言“完不成就下课”。
然而,现实还是十分残酷的。今年前两个月,乐道品牌共计交付9961台。

▲店内摆放的乐道L60
很明显,蔚来汽车面临的销售压力不小。
为了促进销量,日前,蔚来汽车发布了5年0息的销售政策来促进销量,乐道汽车也上新长续航(85kWh)电池灵活升级服务。
蔚来要想重回荣光,打好新车战是关键,而现在蔚来还有一堆“牌”攥在手里。
有消息称,新款蔚来ES6、EC6、ET5、ET5T将于5-6月正式上市。而乐道汽车旗下第二款新车乐道L90,计划于今年二季度亮相,并于三季度正式上市。
新车阵营逐渐扩大,并且随着ET9、firefly萤火虫车型陆续交付,蔚来公司整体销量有望进一步提升。

▲李斌介绍萤火虫新车
结语:蔚来面临的挑战还在继续
新造车企业盈利难已经是业内不争的事实,当前,中国新势力车企中仅有理想、零跑实现了盈利。
虽然,蔚来汽车CEO李斌此前提出了2025年销量同比100%增长的目标,力争2025年第四季度单季度盈利。但根据现在的情况来说,这些目标还极为遥远。
不过,蔚来的机会在于蔚来改款车型以及乐道、萤火虫等全新品牌车型,牌已经攥在手里,就看如何出了。