车东西(公众号:chedongxi)
作者 | R
编辑 | 志豪
车东西2月17日消息,今日,据第一财经报道,华为与上汽的合作将采用智选车模式,上汽将与华为终端签订协议,其品牌名称可能是“尚界”。
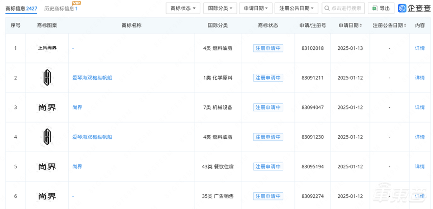
车东西早在春节前就已发现上汽申请注册了“尚界”相关商标。目前看,这次合作早有端倪。

▲上汽集团注册的“尚界”商标
消息显示,尚界所有车型或将进入鸿蒙智行渠道销售,而尚界项目上汽方面负责人是上汽乘用车副总经理祝勇。
根据公开信息,祝勇在于2002年开始在上汽担任上海大众汽车有限公司股长。
2008年至2011年期间,祝勇历任上汽乘用车业务规划和项目管理部发动机高级经理、业务规划和项目管理部NLE项目高级经理、业务规划和项目管理部NLE项目总监(代理)。
2014年12月,祝勇任上汽乘用车业务规划和项目管理部动力总成平台总监,可以说其在技术和研发方面经验丰富。
在2024年08月14日,祝勇开始任上汽集团股份有限公司乘用车分公司副总经理。
据报道,尚界第一款车或将以上汽荣威旗下内部代号为“ES39”的车型作为雏形,将会搭载华为座舱和智驾,提供两个纯电续航版本,预计在今年四季度上市,覆盖15万至25万元售价区间市场,或将成为最便宜的鸿蒙智行车型。
早在2022年荣威RX5的上市发布会上,荣威官方曾透露过代号为“ES39”的的车型。
在当时,荣威表示“ES39”的车型定位是一款纯电动SUV,将基于上汽“星云”纯电系统化平台和“珠峰”机电一体化架构进行打造。
目前双方的合作团队似乎已经开始接触了,2025年年初曾传出华为相关工程师已经进入上汽,现阶段,华为或已经有工程团队入驻上汽安研路研发中心,负责开发智驾和座舱。
与此同时,网络上流传出了疑似鸿蒙智行2025年工作重点的内容,展示了如全新车型问界M8和已经亮相过的尊界S800等车型的上市进度安排。

▲疑似鸿蒙智行2025年品牌重点工作(图源网络)
车东西也就此消息向鸿蒙智行相关人员求证,截止发稿前仍未得到回复。
尽管网传消息的真伪仍难确认,但其中涉及到的多款车型如问界M8等车型确实已有不少信息曝光。
总的来看,鸿蒙智行在2025年包括改款车型在内可能有多款新车将上市,或将在每个季度都将有新车型上市。
2025年,鸿蒙智行在新车型方面可谓是“弹药充足”,也有望冲击更高的销量。
一、手握多款重磅新车 或每季度都有新车上市
虽然难以确定网传信息的准确性,但是关于鸿蒙智行2025年的新车规划,确实已经有很多已知信息。
1、问界M8已亮相工信部,改款问界M9已有谍照曝出。
单看问界品牌,全新车型问界M8可能是问界全年最重要的车型之一。
而此前,问界M8已经出现在了国家工信部发布的第391批《道路机动车辆生产企业及产品公告》中。
按照往常的情况来看,一般车型出现在工信部公告后就将开启预热,这说明问界M8近期有可能开始预热。
而在4月,问界M8或将在今年最重磅的车展之一上海车展上亮相,随后就可能上市。

▲问界M8外观
根据工信部公告的信息,在车身尺寸方面,问界M8的长宽高分别为5190/1999/1795mm,轴距为3105mm。

▲问界M8车身尺寸等信息
动力方面,问界M8搭载了型号“HG15T”排量1.5L的增程器,功率为118kW(约合160匹马力),WLTC燃料消耗量0.53L/100km、0.52L/100km。
同时问界M8申报此前申报的为前后双电机版本,驱动电机峰值功率为前165kW(约合224匹马力)/后227kW(约合308匹马力),电机总功率392kW(约合532匹马力)。
电池方面,问界M8储能装置单体种类为三元锂离子蓄电池,单体生产企业/总成生产企业为四川时代新能源科技有限公司/四川时代新能源科技有限公司。
关于问界M9,近期网络上出现了很多疑似问界M9改款车型的谍照。根据网络上汽车博主的说法,其在自动驾驶方面将有硬件上的升级,而问界M9改款车型或也将于近期上市。

▲疑似问界改款车型谍照(图源网络)
此外根据网传信息,在第三季度,问界M7将会进行改款。
2、尊界将召开技术发布会,S800可能同时开启小订。
此前网络上有消息提到,尊界S800预计2月底至3月开始分配小订及开启小订。
而目前鸿蒙智行已经官方宣布,在2月20日14:30,鸿蒙智行将召开尊界技术发布会。如此看来,尊界S800可能会在这次技术发布会上宣布开启小订。
后续方面,尊界S800或将于5月上市,6月可能开启交付。
3、享界增程车型已官方确认,后续还有两款车型。
综合网络上的消息来看,享界S9增程版可能在4月上市。
关于享界S9增程版,此前北汽蓝谷曾在投资者互动平台上回复,享界增程版车型正在开发中。

▲北汽蓝谷表示享界增程版车型正在开发中
而根据北汽蓝谷近日发布的公告,北汽蓝谷计划对三款享界品牌整车产品进行升级开发,项目有三个子项目,三个子项目分别处于不同开发阶段。
目前子项目一计划建设期为16个月,处于产品及生产成熟阶段;子项目二计划建设期为12个月,处于工程开发阶段;子项目三计划建设期为9个月,同样处于工程开发阶段。

▲享界品牌整车产品进行升级开发项目的三个子项目
同时网络上已经出现过或为享界S9增程版的谍照,那么此次北汽蓝谷公告中处于产品及生产成熟阶段的子项目可能对应享界S9增程版。
二、2024年同比销量增长371% 销量目标或“水涨船高”
目前,鸿蒙智行没有官方宣布2025年年度销量目标。而在2024年,鸿蒙智行全年累计交付量为44.50万辆,同比增长了371%。

▲国内主要车企2024年销量及年终目标达成率
进入2025年,鸿蒙智行在2025年1月全系交付新车3.50万辆,如果不把鸿蒙智行“四界”分开来看,鸿蒙智行已经来到新势力车企月销第一。

▲中国新势力车企2025年1月销量
综合已经确认的消息和网络上流传的各种消息来看,鸿蒙智行2025年有多款重磅新车将发布,年度销量目标可能也会水涨船高。
同时如果上汽集团真的正在和华为合作打造鸿蒙智行第五“界”,成为最便宜的鸿蒙智行车型,在今年四季度上市,可能会对鸿蒙智行在今年年末的销量情况带来提升。
结语:鸿蒙智行2025年重磅新车不断
总的来看,鸿蒙智行或将在2025年有望全新的发展篇章。
从新车上市规划来看,每个季度都有重磅新品推出,涵盖问界、尊界、享界等旗下品牌,车型从豪华SUV到增程版轿车,这将大概率为其销量进一步提升带来助力。
此外,若上汽与华为合作的 “尚界” 顺利落地,凭借其价格和或将进入鸿蒙智行销售渠道等条件,极有可能成为鸿蒙智行销量增长的新引擎,助力鸿蒙智行销量更上一层楼。