车东西(公众号:chedongxi)
作者 | 迩言
编辑 | 志豪
传余承东出席华为北汽智选车项目供应链大会!华为与北汽这是要商讨作战了?
车东西1月26日消息,刚刚,有国内媒体爆料,今日华为常务董事、终端业务CEO、智能汽车解决方案BU董事长余承东出席了华为北汽智选车项目供应链大会。

▲华为北汽智选车项目供应链大会现场(图源网络)
华为与北汽智选车项目供应商大会在北京栖湖饭店召开,而余承东出席会议,被业内视为华为与北汽智选车进展加速的信号。

▲华为北汽智选车项目供应链大会现场(图源网络)
华为和北汽的关系向来十分密切,早在2021年,华为就和北汽极狐建立了合作,可以说北汽是车BU成立之后的第一个客户。双方合作打造了首款HI版车型阿尔法S HI版,但这款车的上市时间被一拖再拖,且售价高达39.79~42.99万元,并没有取得比较好的成绩,月销量曾一度都在几百台中起伏。
但现在,北汽与华为的智选车可能是一个北汽转型的新的突破口。

▲华为北汽智选车项目供应链大会现场(图源网络)
综合现在消息来看,华为同赛力斯和奇瑞的智选车业务已经走向了两种截然不同的局面,问界销量暴涨反超理想,智界却陷入量产困境。
而同样值得注意的是,HI模式也进展频频,被长安汽车力挺,更是迎来了新成员岚图汽车,目前来看,华为智选车模式和HI模式都在不断突破。
一、传合作车型最快4月发布 高端轿车或用享界品牌
近日有消息称,华为与北汽蓝谷共同打造的首款智选模式车型,预计将于2024年北京车展发布,有网友已经拍到了疑似华为与北汽智选车的谍照。

▲疑似华为与北汽蓝谷的首款智选车谍照(图源网络)
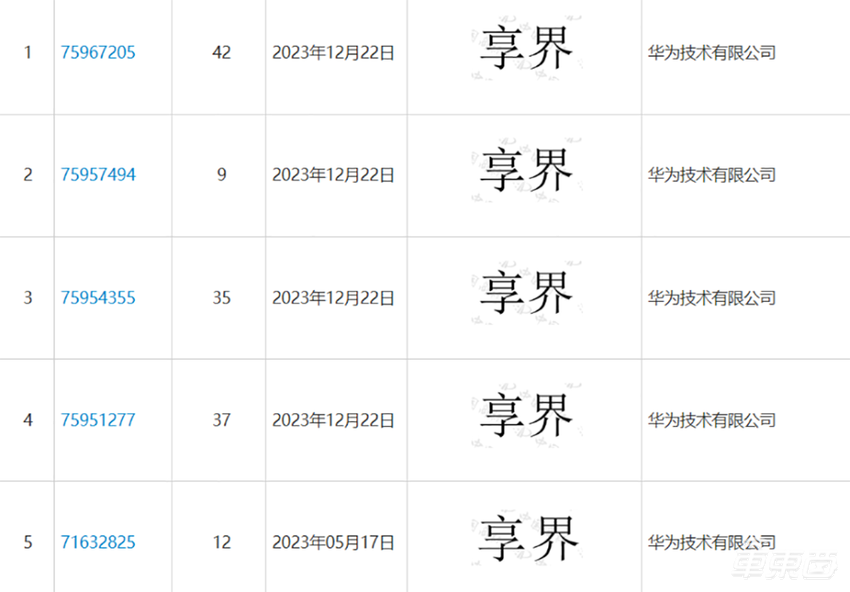
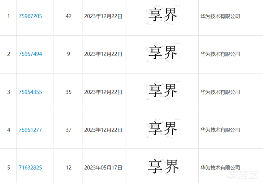
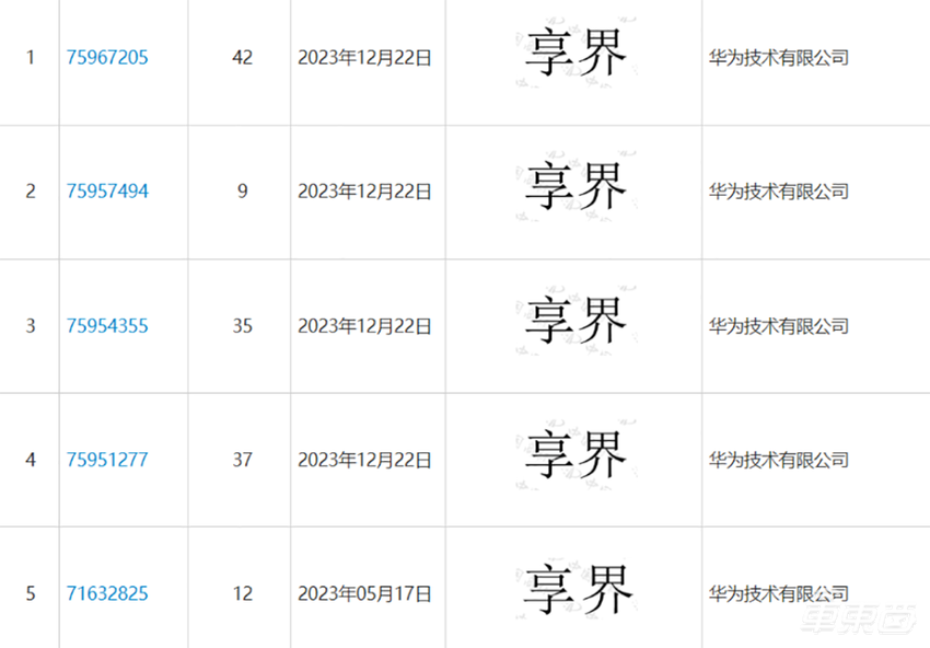
新车定位于高端行政轿车,或采用享界品牌,而此前华为已申请了享界品牌商标。对这些网传消息,北汽方面并未给出明确回应。

▲华为已申请享界品牌商标(图源网络)
虽然未给出准确的上市日期,但此前,北汽蓝谷在答复投资者疑问时曾表示,与华为智选模式合作下的首款车型将在今年实现交付。

▲北汽答投资者疑问(图源IT之家)
而去年12月下旬,有投资者问北汽蓝谷官方,关于与华为合作车型的消息,当时北汽蓝谷的回复是“公司与华为终端有限公司开展智选合作,目前车型还在准备阶段,相关事项请参考8月15日公司发布的《北汽蓝谷新能源科技股份有限公司关于北京高端智能生态工厂建设项目变更暨关联交易的公告》(临2023-058)”。
而车东西在扒完这份公告后发现,北汽蓝谷已在去年8月份就表示,北汽新能源与华为的首款车型定位为高端智能纯电动轿车。为满足新车型设计及投产需求,公司将现有BE22平台全方位升级,打造北汽新能源新一代高端纯电动智能网联汽车平台,升级后的BE22平台产品将由北京高端智能生态工厂负责生产。

▲《北汽蓝谷新能源科技股份有限公司关于北京高端智能生态工厂建设项目变更暨关联交易的公告》截图
此外,此前北汽蓝谷官方公告也显示,子公司北汽新能源拟对北京高端智能生态工厂建设项目进行迁址变更,以满足公司新产品生产规划要求。根据公告,本次投资标的建设地点为北京市密云区云西地区,形成年产10万辆高端新能源汽车的生产能力。
而去年11月,国家知识产权局商标局1865期商标公告显示,华为向北汽新能源转让了多个“STELATO”商标,类别为第12类,转让/移转申请已被核准。
当时有业内人士猜测,华为与北汽合作的智选模式或即将上线,“STELATO”则很有可能是华为和北汽所合作的智选品牌英文名。
一系列动作都说明,华为与北汽的智选车离我们越来越近了。
二、问界销量反超理想 智界陷入量产难题
目前,华为与多家车企合作的智选车项目似乎处在了不同的境遇。一方面是问界销量反超理想,一方面是智界汽车面临交付难的尴尬处境。
根据理想汽车官方发布的销量数据,进入2024年以来,前三周问界取得了中国市场新势力品牌销量冠军,达到了2.01万辆,超过了理想汽车的1.87万辆销量。

▲1月前三周问界销量超过理想
虽然数字可能差距不算太大,但背后也暴露出二者竞争之激烈。
过去一年,理想一直是新势力单月销量榜的第一名,而问界今年连续两周超过理想汽车,前三个周的整体销量再次超过理想汽车。这也反映出了问界系列车型在市场上的火热程度。
不同于问界汽车销量的高歌猛进,华为与奇瑞合作的智界S7则是遭遇量产瓶颈。

▲智界S7
据晚点Auto报道,截至1月20日,地处安徽芜湖的奇瑞智能网联超级二工厂仍处试生产阶段,单日下线车辆不足10辆。
因产量不足,智界S7交付已经出现了延期,相关消息称,智界S7的最快交付周期大约推迟了6周,最快也要至少10周交车,虽然此前鸿蒙智行也对智界S7的下定车主推出了延期交付补偿方案,200元/天/辆,最多补贴1万元,但这一延期似乎也意味着新车面临量产难题。
结语:华为汽车业务加速布局
智选车模式进展频频,HI模式也不断加速。
2024长安汽车全球伙伴大会上,长安汽车董事长朱华荣表示,长安与华为的新合资公司暂定名为“Newcool”,涉及智能驾驶、智能座舱、智能汽车数字平台、智能车云、AR-HUD与智能车灯等七大领域,并表示华为HI模式是最佳选择。
而在刚刚过去的1月22日,东风旗下岚图汽车近日也与华为正式签署战略合作协议,双方将加强智能化方面的合作,业内猜测,继阿维塔、极狐之后,岚图可能是华为的“HI 模式”的新成员。
2024年华为的智选车模式和HI模式都将在企业合作上迎来大爆发。