35款重磅新车揭秘!配置全曝光,特斯拉蔚来小鹏都有

车东西(公众号:chedongxi
作者 |  晓芳 小崔
编辑 |  Juice

35款重磅车型即将发布,等等党的机会来了!

日前,国家工信部公示了第369批《道路机动车辆生产企业及产品公告》新产品公示和第369批《道路机动车辆生产企业及产品公告》变更扩展公示,公告内涵盖诸如蔚来ET5、哪吒GT、小鹏G6等重磅新车,以及特斯拉Model Y、问界M5、蔚来ES6等热门车型的改款车。

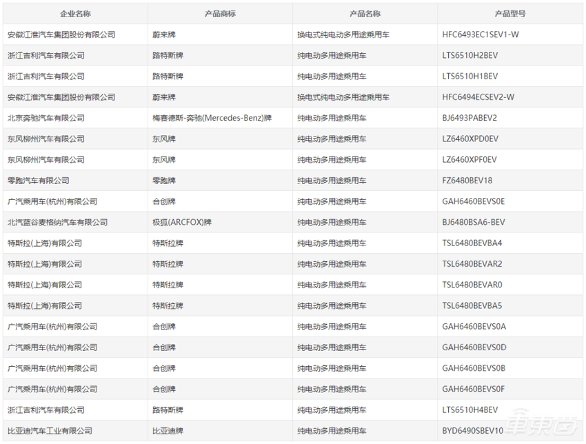
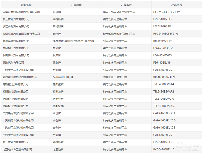
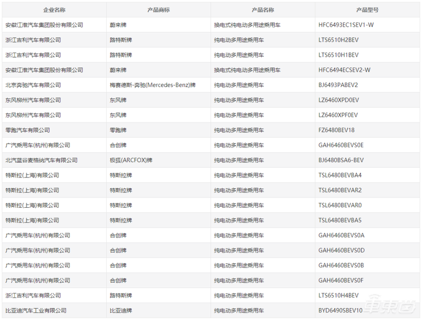
35款重磅新车揭秘!配置全曝光,特斯拉蔚来小鹏都有▲工信部第369批重磅车汇总

除此之外,不少车企轮番进军中高端新能源市场,推出了吉利银河L7、腾势N7、魏牌蓝山、哪吒GT等车型。

同时,在变更扩展公示中,四款特斯拉中国Model Y车型进行了变更备案,继Model 3、Model S后,Model Y也放弃了超声波雷达,改用了“纯视觉”方案。

今年春节前后,先是各大新能源车企纷纷降价促销,后又经历了1月份新能源汽车市场销量下滑,再到2月整体销量回暖。

各大车企不仅忙着卖车回笼资金,也在持续推出新车,多款即将上市的新车也揭开了神秘的面纱。

一、新能源车市扩大 6款重磅新车年内上市

与往期公告相比,本次公告申报的新能源汽车产品数量有所增加,据车东西非完全统计,新能源乘用车共183款,占比62.9%,包括纯电动产品143款、插电式混动产品27款、插电式增程混动产品13款。同时,此次新能源乘用车的新车数量少于改款车数量,共53款,而改款车共130款。

143款纯电乘用车产品中,新上市的车型共40款(包括同一车型不同版本),改款车型共103款(包括同一车型不同版本)。

从工信部公布的文件来看,接下来仍会有不少重磅新车将上市,比如蔚来ET5、哪吒GT、小鹏G6、腾势N7、奇瑞eQ7、别克E5等车型都值得关注。

1、蔚来ET5猎装版

蔚来ET5猎装版谍照流传已久,现在我们终于可以窥见其真容了。

35款重磅新车揭秘!配置全曝光,特斯拉蔚来小鹏都有▲蔚来ET5猎装版

作为ET5的姊妹车型,新车尺寸和动力与ET5完全一致。外形尺寸长*宽*高为4790*1960*1499mm,轴距2888mm,动力上,新车搭载与ET5相同的前150kW和后210kW双电机。

新车主要是进行了外观调整,车身前半段与轿车版造型一致,后半段线条平缓,后备箱空间将有所提升。同时,新车提供了5种轮毂样式可选,支持选装车顶行李架,而且还支持选装电动拖钩,方便拖曳房车。

此前,蔚来透露过该车将在欧洲首发,随后也会在中国市场上市,并大概会在今年第三季度开始交付。

2、哪吒GT

哪吒GT是哪吒旗下首款双门四座纯电跑车,其长*宽*高分别为4715*1979*1415mm,轴距为2770mm,整体来看,哪吒GT造型动感时尚、年轻个性。

35款重磅新车揭秘!配置全曝光,特斯拉蔚来小鹏都有▲哪吒GT

外观方面,哪吒GT前脸的整体轮廓与哪吒S几乎一致,两侧采用了巨大的通风口设计,大灯组采用了纵向设计,十分狭长,尽显犀利。

35款重磅新车揭秘!配置全曝光,特斯拉蔚来小鹏都有▲哪吒GT侧面

根据官方几日前发布的官图,侧面来看,新车线条流畅,采用大溜背的设计,另外,新车还在下包围处配备了扰流板,发动机盖上也配备有通风口,加上隐藏式门把手,可谓是将超跑的设计元素都尽可能地融入进去。

至于动力,新车搭载了后置单电机和前后双电机组成的电控四驱系统,最大功率分别为231kW和462kW,续航里程分别为560km和580km,后期也还会推出660km的版本。

3、小鹏G6

继小鹏G3、G9之后,小鹏第三款SUV—G6正式亮相,从工信部申报信息来看,小鹏G6长*宽*高分别为4735*1920*1650mm,轴距为2890mm,与特斯拉Model Y的轴距相同,不过G6在外形尺寸上略占优势。

从申报图来看,小鹏G6车身轮廓简洁圆滑,颇具稳重感,外观上仍保留了不少家族设计,分体式LED头灯组、融入品牌LOGO的贯穿式LED灯带等。

35款重磅新车揭秘!配置全曝光,特斯拉蔚来小鹏都有▲小鹏G6

从选装信息来看,除轮辋、后风窗玻璃样式、ETC、轮边装饰件外,小鹏G6还可选装激光雷达,其居于车头两侧的远近灯光组附近。

动力方面,新车提供单电机和双电机版本,单电机版峰值功率为218kW,搭载中创新航提供的磷酸铁锂、三元锂电池;双电机版本前后峰值功率分别为140kW、218kW,搭载中创新航提供的三元锂电池。

相较于蔚来和理想,小鹏近来有些掉队,在去年下半年就出现了销量下滑的困境,2月份虽有所回升,但依旧差强人意,不知此次的小鹏G6能否扛起销量和利润的双重任务。

4、腾势N7

腾势N7是比亚迪旗下对标主流中高端SUV的产品,其高度还原了腾势INCEPTION概念车,采用π-Motion势能美学设计理念,整体视觉效果突出。

35款重磅新车揭秘!配置全曝光,特斯拉蔚来小鹏都有▲腾势N7

新车长*宽*高分别为4860*1935*1602mm,轴距为2940mm,受制于跨界车造型,相较于同级的蔚来ES6,外形尺寸上并不占优势。

配置上,全系将标配全景天幕,并可以选装轮眉、后扰流板、前部两侧激光雷达,两颗激光雷达位于两侧雾灯饰板处。

动力上,单电机版车型将搭载一台永磁同步电机,最大功率为230kW,同时,该车还将提供前交流异步、后永磁同步双电机版本,最大功率分别为160kW、230kW。

作为腾势品牌的首款SUV车型,腾势N7或将在4月份的2023上海车展正式亮相,7月份正式交付。

5、奇瑞eQ7

从申报图来看,奇瑞eQ7进行了不同于初代“大蚂蚁”的造型设计,车头由此前的“大眼”变成了狭长的“眯眯眼”分体式车灯,颇具视觉冲击。新车还融入了一定的轿跑元素,配备了熏黑式的轮眉和侧裙,看上去运动感十足。

35款重磅新车揭秘!配置全曝光,特斯拉蔚来小鹏都有▲奇瑞eQ7

外观尺寸上,新车长*宽*高分别为4675*1910*1660mm,轴距为2830mm,与老款车型相比,车长、高均有所增加。配置上,新车可选装不同颜色行李架、前雷达、可开启式全景天窗等。

动力方面,eQ7将搭载峰值功率为155kW的电机,搭载磷酸铁锂电池。

6、别克E5

作为第一款采用奥特能平台的别克车型,别克E5将搭载全新一代的VCS智能座舱和Super Cruise超级辅助驾驶系统。

从申报信息来看,别克E5长*宽*高分别为4892*1905*1681mm,轴距为2954mm,有两种轮胎规格可选。

35款重磅新车揭秘!配置全曝光,特斯拉蔚来小鹏都有▲别克E5

外观部分,别克E5是基于概念车Electra-X打造的,延续了概念车的设计,同时在封闭格栅上采用了“数字波浪阵列格栅”的设计。

配置方面,可选装天窗、后视镜、轮毂、格栅、行李架等,还可以选装ETC车载装置。

动力方面,新车将搭载峰值功率为150kW的驱动电机,采用三元锂电池。

二、5款改款车齐上阵 国产Model Y取消雷达

除了新车发布,多个车企还对自己的老款车进行了更改,而这些改款车中也有一些比较重磅的车型,如Model Y、问界M5、蔚来ES6、零跑C11、哪吒U等。

35款重磅新车揭秘!配置全曝光,特斯拉蔚来小鹏都有第369批《道路机动车辆生产企业及产品公告》变更扩展公告(部分截图)

1、特斯拉Model Y

在改款车型中,特斯拉一直备受关注,尤其是最近Hardware4.0的出现,已经给大家带来了诸多猜测。

根据第369批《道路机动车辆生产企业及产品公告》,2023款Model Y最大的变化便是取消了雷达,这意味着国内的新款Model Y在智能驾驶方面将采用以摄像头为核心的纯视觉方案。

35款重磅新车揭秘!配置全曝光,特斯拉蔚来小鹏都有▲Model Y工信部产品申报图

目前,国内Model Y配备了9个摄像头和12个超声波雷达,前后保险杠各6个超声波雷达,搭载的短程声波雷达,主要用于停车和检测近距离物体。

从工信部的申报图片上来看,此次改款Model Y上取消的雷达大概率是车身前后的12个超声波雷达。

早在2021年5月,特斯拉就开始向纯视觉方案过渡,由于芯片短缺和驾驶路线的摇摆,特斯拉去年开始放弃各种雷达。

去年10月,特斯拉官方发布关于新车硬件配置的更新说明:将采用纯视觉系统取代超声波传感器。另外,之后面向北美、欧洲、中东等地区交付的Model 3和Model Y也将移除超声波雷达,Model S和Model X也将于2023年去除雷达。

五个月后,特斯拉的纯视觉系统终于将在国内和大家见面。

不过,相比于国外的道路环境,国内的道路状况复杂且多变,去除雷达,仅靠8颗摄像头,特斯拉能否应对国内的道路环境?我们拭目以待。

2、问界M5

与特斯拉Model Y改款恰恰相反,问界M5改款的最大变化是增加了一颗激光雷达。

外界猜测,问界M5这颗激光雷达大概率会使用华为的等效96线半固态激光雷达,也有人猜测是速腾聚创M1,原因是速腾聚创去年与赛力斯达成了合作,但是速腾聚创的激光雷达更有可能会搭载到新款的赛力斯SF5上。而华为这款等效96线的激光雷达已经在阿维塔11和极狐阿尔法S华为HI车型上进行了装配,不过它们用了3颗,而问界M5上只有1颗。

另外,据有关媒体,新款问界M5还增设了后向和侧向的感知摄像头,前视的摄像头也变为了双目视觉。

作为参考,目前的问界M5车型的辅助驾驶采用了博世的L2级方案,配备了一个单目摄像头,还有3个毫米波雷达、4个环视摄像头、12个超声波雷达。这套硬件只能让问界M5实现一些基础的ACC功能,而无法实现领航等高阶辅助驾驶功能。

由此可见,新增的激光雷达很大程度上会提升该车智能驾驶能力。

除此之外,新款的问界M5可能将采用一套华为自研的辅助驾驶方案,并搭载第三代华为鸿蒙智能座舱。1.5T的增程器功率将会增加至112kW,油耗也会有所降低。

3、蔚来ES6

和问界M5改款一样,新款蔚来ES6也增加了激光雷达。

最新的申报信息显示,新款蔚来ES6长*宽*高分别为4854*1995*1703mm,轴距为2915mm。溜背式的车顶设计搭配可选装不同的轮毂设计,封闭式的前脸设计搭配分体式大灯组,尾部设计采用了时下较为流行的贯穿式LED尾灯设计。

35款重磅新车揭秘!配置全曝光,特斯拉蔚来小鹏都有▲蔚来ES6工信部产品申报图

新款蔚来ES6基于全新的NT2.0平台打造,搭载前后双电机四驱系统,前后电机最大功率分别为150kW、210kW,同时新车依旧支持换电功能。

值得注意的是,新款蔚来ES6车顶上还配有激光雷达,将进一步提升车辆驾驶辅助能力。

4、零跑C11

中端市场上,零跑在2023款C11上将增配置和降价格同步进行,在动力、造型、配置和技术上进行了升级。

动力方面,23款C11新增性能版专属选装包,零百加速可达3.94秒,新增性能绿+前定卡钳。

造型上,23款C11新增两款20英寸轮辋、全景天幕、天幕灰外观颜色、麂皮绒顶棚、贯穿式数字晶体前大灯和全新造型座椅。

35款重磅新车揭秘!配置全曝光,特斯拉蔚来小鹏都有▲零跑C11工信部产品申报图

配置方面,23款C11新增第二排机械锁、USB接口背光灯、后尾门内按键背光、后排TYPE-C接口、Nappa真皮前排座椅新增舒适性海绵、座椅按摩功能、后排液晶控制屏、AQS空气质量控制和高效复合滤芯。

技术上,23款C11采用全新车机UI设计,新增BMS反向唤醒整车功能,底盘进行了调校优化。

除此以外,23款C11车辆续航里程进行了调整,将提供CLTC工况500公里、580公里(四驱)和600公里三种续航。

不过,23款C11可谓是在原有基础上进行了重大升级,但其价格却是不升反降。

5、哪吒U

作为哪吒U的改款车型,哪吒U-II主要有三大变化,分别是新增两款涂装、车机换上了8155芯片和解锁了一部分驾驶辅助功能。

35款重磅新车揭秘!配置全曝光,特斯拉蔚来小鹏都有▲哪吒工信部产品申报图

此次改款最重要的一点是哪吒汽车将原本只有高配车型才有的“第三代骁龙座舱平台8155芯片”和“地平线征程3高性能车规级AI芯片”下放给所有续航版本的车型,智能座舱与智能驾驶辅助不再是高配车型专属。

另外,哪吒U-II所有续航版均可选取地平线征程3高性能车规级AI芯片+22个智能驾驶辅助感知硬件+22项L2.5+级智能驾驶辅助功能+智能手机数字钥匙(多蓝牙PEPS)作为智驾选装包。这也正好符合哪吒汽车“科技平权”品牌理念。

外形设计上,哪吒U-II新增了“机甲暗夜黑”和“星钻魅影粉”两个设计主题,还配备了贯穿式LED前灯组和贯穿式LED尾灯。

三、3款重磅混动 竞争进一步加剧

除了纯电车型,今年也有3款值得期待的插混车型,分别是吉利银河L7、比亚迪护卫舰07、魏牌蓝山。

1、吉利银河L7

吉利银河L7是吉利前不久推出的新车型,作为吉利品牌的全新中高端新能源系列,吉利银河L7混动版预计今年第二季度交付。

35款重磅新车揭秘!配置全曝光,特斯拉蔚来小鹏都有▲吉利银河L7

造型设计上,吉利银河L7采用了全封闭式格栅的智能电混SUV,日行灯呈“斗拱”形,尾灯采用贯穿式设计。

新车新车基于世界级e-CMA架构打造,长*宽*高分别为4700*1905*1685mm,轴距2785mm,首搭神盾电池安全系统、雷神电混8848以及银河N OS三大技术。

此前,吉利汽车集团CEO淦家阅在发布会上高呼:A级SUV上没有对手,是自说大话还是胸有成竹,我们拭目以待。

2、比亚迪护卫舰07

作为比亚迪军舰系列的车型,护卫舰07外形尺寸长*宽*高分别为4820*1920*1750mm,轴距为2820mm,与此前的老款一致,作为一款5座SUV,车内空间也十分宽裕。

35款重磅新车揭秘!配置全曝光,特斯拉蔚来小鹏都有比亚迪护卫舰07

用户可选装红色卡钳、轮毂、不同颜色前后保下护板、轮眉、雷达等,还可以选装ETC车载装置,同时,全系标配全景天窗。

动力方面,比亚迪的DM-i/DM-p超级混动技术自然是最大的亮点,两种动力架构都搭载了骁云-插混专用1.5Ti高效发动机、EHS电混系统以及专用功率型刀片电池。

目前,比亚迪护卫舰07在1、2月份销量达11472辆,处于产能爬坡的阶段,但其各方面表现都还算可以,未来或将成为一款有力竞品。

3、魏牌蓝山

新车的外形尺寸长*宽*高分别为5156*1980*1805mm,轴距为3050mm,光从尺寸上来看,作为一款家庭用车,车内空间表现应该不俗。

35款重磅新车揭秘!配置全曝光,特斯拉蔚来小鹏都有▲魏牌蓝山

根据此前公布的内饰官图来看,蓝山车内空间确实很是宽裕,另外,大尺寸增强型HUD、人脸识别、手机无线充电槽、怀挡等配置也提升了座舱的豪华感。不难看出,包括座椅在内,内饰大部分进行了真皮包裹,进一步提升了豪华感。

▲魏牌蓝山内饰图

动力方面,蓝山将搭载DHT动力系统,具备3种动力模式+7种驾驶模式。配置方面,可以选装前雾灯装饰件、行李架、轮毂、电动侧踏等。

作为中大型SUV的蓝山,期待其上市后与理想L8等主力车型一较高下。

结语:国内新能源市场将更加激烈

今年汽车市场的内卷程度之高大家已有目共睹,从开年新能源车集体降价到本月初各大燃油车大幅“打骨折”甩卖,无不暗示着汽车市场的争夺之惨烈。

而相比浅层面的价格战,随着各个产品创新力下降,同质化严重,能让消费者为之买单的“冲动”越来越少,如何不断提升产品的竞争力,脱颖而出,想必是各大车企所要思考的问题。