车东西(公众号:chedongxi)
作者 | 颐圣
编辑 | 志豪
车东西2月9日消息,日前,浙江孔辉汽车科技股份有限公司(下称“孔辉科技”)在浙江证监局完成辅导备案登记,正式启动A股IPO流程,辅导机构为中信建投证券。

▲孔辉科技在浙江证监局完成辅导备案登记
孔辉科技是目前国内乘用车空气悬架系统的头部供应商,通过本土化研发与制造,孔辉科技降低了空气悬架的成本,使其能够搭载于价格更亲民的国产新能源车型上,在一定程度上实现了对进口产品的替代。
官方数据显示,包括岚图、理想、极氪在内的客户超27款车型都搭载了孔辉科技的产品。
2023年至2024年,孔辉科技在国内乘用车空气悬架市场的份额一度超过40%,位居行业第一。截至2025年9月,孔辉科技累计交付空气悬架超100万台套。
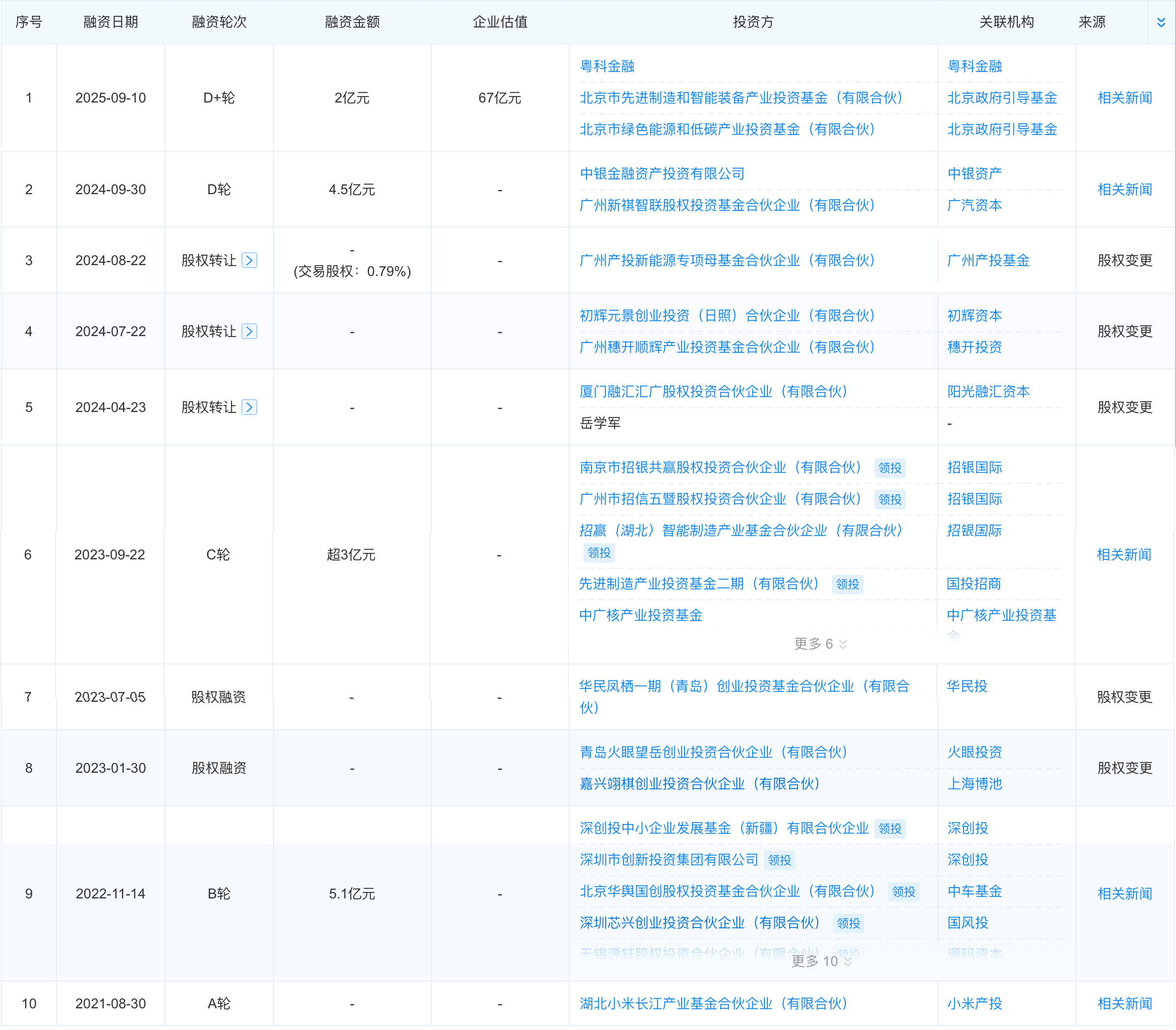
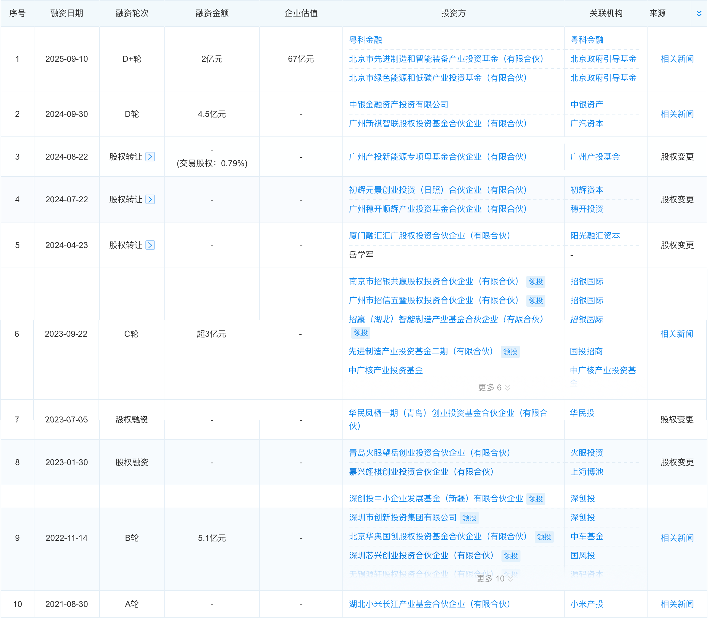
在孔辉科技的融资历史方面,截至辅导备案前,其已完成多轮融资,最新估值达67亿元,投资方涵盖产业资本与知名投资机构。

▲孔辉科技融资历史
在投资人方面,小米、广汽资本等主机厂资本均现身名单之中,小米更是从2021年8月的A轮融资便开始入局。
此外,源码资本、深创投、国投招商、中银投资等头部机构也都在名单之中。
从起源来看,孔辉科技两位创始人也是顶尖技术与商业落地的人才组合,由一对父子档掌舵。
其中,孔辉科技技术奠基人郭孔辉是中国工程院院士,是我国汽车操纵稳定性、平顺性科技领域的主要开拓者和学术带头人。

▲郭孔辉
郭孔辉曾任吉林大学汽车学院院长,他在汽车动力学领域的学术造诣很高,早在1950年代,他就开始研究空气悬架技术。
孔辉科技的技术底座,正是源于郭老几十年的科研积累。
而孔辉科技目前的掌舵人便是郭孔辉的儿子,郭川。

▲郭川
郭川并非纯粹的科研人员,更具备商业敏锐度,他早年接手父亲创办的长春孔辉,但他敏锐地意识到“只做服务做不大,必须做产品”。
2018年,郭川带领团队南下浙江湖州,成立了现在的孔辉科技,投入空气悬架的量产化研发。
最终,他带领团队攻克了空气悬架量产工艺难题,并成功抓住了造车新势力愿意尝试国产供应链的时间窗口,实现了从“0到1”的爆发。
从空气悬挂整体市场环境来看,2025年1-11月,中国市场乘用车前装标配空气悬架交付量达118.50万辆,同比增长66.71%,增速较上年同期显著提升约26个百分点,展现出强劲的市场渗透势头。
在这一进程中,国产供应链表现亮眼,拓普、孔辉、保隆等本土供应商在空簧领域已占据超90%的市场份额,同时中鼎、科博达、经纬恒润等企业也在空气供给单元及控制器等核心环节稳居头部。
从这一数据来看,一方面,国产空气悬架系统已打破外资垄断、实现关键技术的自主可控,另一方面也体现了中国本土供应商在高阶底盘领域全产业链“国产替代”的跃迁,正加速推动中国供应商在全球汽车核心零部件供应格局的话语权。