车东西(公众号:chedongxi)
作者 |  张睿
编辑 |  志豪
车东西11月3日消息,今日,武汉蔚能电池资产有限公司(以下简称“蔚能”)宣布完成6.7亿元C轮股权融资。
根据蔚能官方透露,本轮融资由蔚能创始股东追加投资,同时新进引入海宁经开、海南澄迈两家国有资本股东。

▲蔚能宣布完成6.7亿元C轮股权融资
根据蔚能官方介绍,本次C轮融资完成后,将为蔚能的长期战略布局提供更稳定的资金保障和更优越的发展环境。蔚能将以此为契机,进一步加大在技术研发和服务升级上的投入。
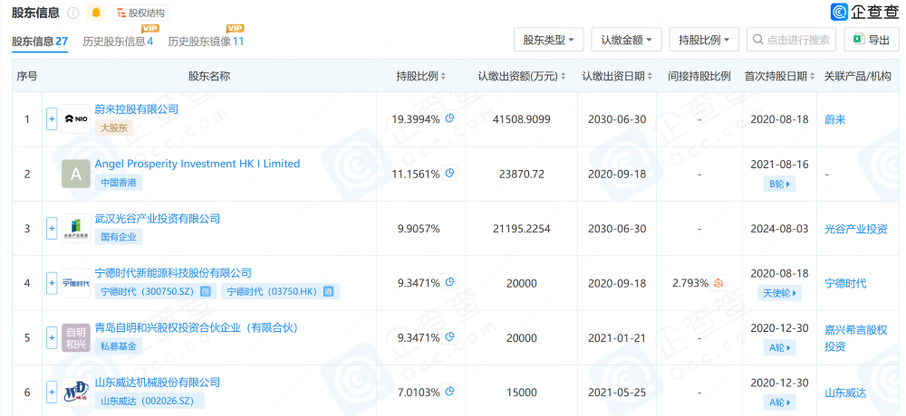
蔚能由蔚来和宁德时代等公司共同发起投资,成立于2020年。根据企查查的数据显示,蔚能目前由蔚来控股有限公司持股约19.4%,宁德时代新能源科技股份有限公司持股约9.35%。

根据公开资料,蔚能的主要业务为打造基于“车电分离”模式下的电池资产管理业务,通过电池租用服务BaaS,提供车电分离、电池租用、可充可换可升级的服务。用户在购车时不需购买电池包,根据自身实际使用需求选择租用不同容量的电池包,按月支付服务费,并且和电池购买用户一样,可享受换电服务和电池升级服务。

▲武汉蔚能电池资产有限公司
截至目前,蔚能在运营电池资产规模已经突破30GWh,服务用户数量超过40万人。同时蔚能已申请专利超过160项,发明占比59%。
根据企查查上的数据,蔚能目前已经经历天使轮、A轮、B轮和C轮四轮融资,总额超过14.2亿元。

▲蔚能融资历程