
车东西(公众号:chedongxi)
作者 | Alice
编辑 | Juice
车东西3月29日消息,据外媒Teslarati报道,特斯拉激光挡风玻璃雨刷器专利已经被美国专利局正式公布,该雨刷器将利用激光束清除挡风玻璃上的污渍。
特斯拉在2019年5月提交了该专利的申请,并在2021年底获得批准。目前美国专利局已经公布了这项专利。
特斯拉在公布的文件中描述了这项专利:
“一种用于车辆的清洁系统,包括一组发射激光束照射车辆挡风玻璃区域的光学组件;一组检测电路检测该区域累积的碎屑。控制电路根据对碎屑的检测,校准与光束光学组件发射的激光束有关的一组参数,控制激光束对积累的碎屑的曝光水平。其中曝光水平的控制是基于校准的速率脉冲激光束,该速率限制了激光束的穿透深度,激光穿透深度小于挡风玻璃的厚度,并使用激光束清除挡风玻璃上的碎屑。”
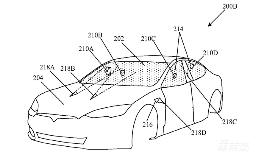
▲特斯拉新专利示意图
特斯拉的激光挡风玻璃刮水器用首先于哪款车目前还未可知,但专利内的插图为Model S车身,这款激光挡风玻璃刮水器应该首先在Model S上做了测试。
一、激光清洁组件工作分为五步 可手动操作
特斯拉描述该专利过程的流程图相对简单,用五个步骤,展示了该专利中激光清洁组件的使用方法。
1、检测安装挡风玻璃某一区域积累的碎屑。
2、根据对挡风玻璃某一区域积累的碎屑的检测,校准与光束光学组件发出的激光束有关的一组参数。
3、根据与激光束相关的一组参数的校准,控制激光束对检测到有碎屑的挡风玻璃的照射水平。
4、用激光束照射挡风玻璃上被检测到碎屑的区域。
5、用激光束清除积聚在该区域的检测到的碎屑。
专利显示,这一清洁机制似乎不是由车辆自动完成的,司机可以用触摸屏、操纵杆或其他媒介控制激光器,以操作清洁设备。
结语:激光专利上车后将减少汽车维护费用
特斯拉最新的激光专利如果最终被采用,这意味着车主在做车辆维护时连玻璃水都不需要加注,只需要激光光束就能清洁挡风玻璃。
从这一角度来看,特斯拉在电动汽车市场将更具优势,由于本身电动汽车的保养费用就比燃油车的保养费用大大减少,再通过新专利,特斯拉将完全颠覆电汽车的保养规则。