 
                车东西(公众号:chedongxi)
作者 |  Juice
编辑 |  晓寒
最近一两天,关于苹果造车的消息铺天盖地的传来,引起了热烈关注。
昨天,台湾经济日报称苹果最近向和大、贸联、和勤、富田等台湾汽车零部件厂商提出了备货要求,苹果预计将会在明年9月发表苹果汽车,还称其原型车已经在美国加州上路测试。

▲台媒称苹果汽车明年三季度亮相
而在今日,路透社又发布消息称,苹果计划在2024年生产一款纯电动乘用车,路透社还引援了接近苹果的人士的消息称,苹果正在研发低成本长续航的动力电池。
十余天前,外媒DigiTimes预测也苹果汽车将在2024~2025年亮相。
虽然这几条消息的时间看上去都有一定的冲突,但苹果在2014年开始进入电动汽车领域后已经申请了多个专利,此次供应链企业的密切发声,也暗示着苹果的首款汽车可能真的要来了。
但事实上,苹果官方对于苹果汽车的发布时间并没有公布明确的时间线,这件事目前还没有定数,更多的是一种猜测。
在与行业人士交流以及回顾了苹果汽车专利(可参考车东西此前报道《苹果造车之心不死!1年新增30项专利,各个都是黑科技》、《70项专利解密苹果汽车!脑洞太大,特斯拉都追不上》、《苹果玩智能汽车,路子比特斯拉还野》)之后,车东西也找到了一些蛛丝马迹,几乎可以断定苹果汽车真的已经在路上了。
为了准确的认识苹果造车这件事,车东西整理了十个比较关键的问题,理清了这十个问题,对苹果造车就能有一个更清晰的认知。
一、苹果为什么要造车?抓住时代风口
苹果公司主打的产品主要是为以iPhone、Mac、iPad为代表的消费电子产品,在汽车领域并不是主力玩家,而之前也并没有很多经验,尽管如此,苹果还是跨界进入了这个赛道,那么苹果为何会这么做?
在车东西看来主要有以下几个原因,一方面在特斯拉的带领下,全球都掀起了智能电动汽车的浪潮,同时各国政府也在积极鼓励车企开始电动化转型。多个跨界玩家如蔚来、理想、小鹏等都取得了不错的市场成绩,而且股价和市值也在不断飙升。
目前特斯拉的市值超过了丰田大众两大车企之和,蔚来汽车的市值也一度超越了宝马集团,智能电动汽车市场的发展潜力非常明显。

▲特斯拉市值6160亿美元
另一方面,苹果在10月底正式发布了2020财年Q4财报,财报显示,第四季度苹果的营收为646.98亿美元(约合人民币4334亿元),跟去年同期的640.40亿美元(约合人民币4191亿元)相比增长1%,而净利润为126.73亿美元(约合人民币829亿元),比去年的136.86亿美元(约合人民币896亿元)相比下降8%。
而且苹果此前最为倚重的iPhone业务营收却同比下滑20.7%,营收为264.44亿美元(约合人民币1731亿元)。
在这样的环境下,苹果也需要更多的业务来支持其自身发展,近期大火的智能电动汽车则无疑是苹果最好的选择。
苹果虽然在汽车领域也已经推出了Car Play,但对于一贯致力于C端市场的苹果来说,Car Play显然不能满足苹果在汽车领域的野心,直接生产面向用户的苹果汽车才更符合苹果的一贯作风。

▲CarPlay
作为行业颠覆者,苹果若能推出具有苹果特色的智能电动汽车,或将会影响行业未来十年的走向,苹果市值能否达到3万亿美元(约合人民币19.6万亿元)可能也全都系于苹果汽车了。
二、苹果有汽车人才吗?频繁挖角已组建完整造车队伍
虽然确认苹果肯定会造车,但汽车毕竟是一个大工程,还需要人才、资金、技术等多个方面的支撑。那么,苹果在这些方面是否已经做好了准备?
首先我们来看看苹果的人才储备。2014年3月,苹果在日内瓦车展发布Carplay车载软件之后,便开始对汽车进行实质性的研究。2015年,有媒体报道称苹果的汽车项目有数千人参与研发工作。同时,苹果也一直在鼓励特斯拉员工加入苹果公司。
这一年,苹果从全球各大车企都挖来了优秀的人才,包括特斯拉、克莱斯勒汽车、大众集团。在这其中,就包括特斯拉前副总裁Chris Porritt。目前,他还在苹果的Titan项目中担任重要职位。
此外,苹果在2015年还从英伟达、Waymo等公司聘用自动驾驶相关的人才,帮助苹果研发自动驾驶系统。苹果还从三星公司“挖”走至少三名电池专家,主攻动力电池技术。
在2016年7月,《华尔街日报》报道称苹果返聘已退休的苹果前硬件高级副总裁Bob Mansfield,并由他来接管Titan汽车项目。
▲苹果前硬件高级副总裁Bob Mansfield
虽然苹果一直没有公布过团队人数,但从公开信息中也能找到一些蛛丝马迹。2018年7月,苹果起诉前华人工程师张晓浪时,曾在诉讼文件中显示5000名员工正在参与研究其自动驾驶项目。
从这些信息来看,苹果内部对于汽车业务仍然是非常重视,在成立以来也已经进行了多次扩招,所吸纳的员工包括传统主机厂、新造车公司、自动驾驶公司甚至动力电池企业,几乎是涵盖了智能电动汽车领域的所有项目。也就是说,苹果对于汽车人才的储备是全方位的。
三、苹果造车缺钱吗?现金储备1.26万亿并不差钱
众所周知,造车是一件烧钱的事。目前在新能源汽车领域最成功的车企特斯拉在成立的17年中,几乎每一年都在亏损,累计烧钱超过了50亿美元(约合人民币327亿元),蔚来汽车在成立之后也烧了200多亿元才换来了今天的成绩,小鹏理想汽车都经历过相似的阶段。
在这一过程中,有很多新造车公司都一次而失败,戴森在烧了26亿英镑(约合人民币228亿元)之后,宣布放弃造车,拜腾也在烧了84亿元后陷入困境。

▲戴森宣布放弃造车
这也说明了,烧钱不一定能推出一个崭新的汽车品牌,但是没有钱一定无法做到。而作为全球做成功的科技公司之一,苹果的现金流储备一直位居全球前列,对于苹果来说,烧钱造车并不会对原来的业务造成什么影响。
苹果公司今年Q4财报数据显示,目前苹果手握1918.3亿美元现金(约合人民币1.26万亿),也就是说苹果手里的现金数量都已经超过了很多公司的市值。
手里有钱的苹果也愿意向造车业务上砸钱,今年摩根士丹利(Morgan Stanley)分析师Katy Huberty曾分析苹果今年将投入近190亿美元(约合人民币1243亿元)用于汽车研发。
而摩根士丹利的数据还显示,全球汽车行业用于研发汽车科技的资金在800亿美元~1000亿美元(约合人民币5235亿元~6544亿元)之间,也就是,苹果一年投入的资金就占全球汽车产业研发资金的20%以上,从中也能看出苹果多舍得为汽车业务花钱了。
四、苹果造车有技术吗?已有超百项专利在手
人才和资金对于苹果来说都不是什么大问题,那么一直在消费电子领域发力的苹果汽车领域可谓是门外汉了,苹果在汽车领域是否积攒了什么技术呢?
事实上,苹果在汽车领域的技术储备也非常深厚,今年以来,车东西持续在跟踪苹果的汽车专利情况,几乎每隔两三个月,苹果就能拿出了几十个新的专利。
在2019年,苹果在汽车领域一共获得了30多项专利,涉及自动驾驶、AR导航、车载VR、车内支付、生物识别、智能硬件、车外交互、虚拟后视镜等多个领域。

▲苹果2019年以来获得的汽车相关专利
比较有创意的专利包括,将安全带变为触控板进行一些车载功能的操作、用智能车门来防止开门时发生的事故、将后视镜画面投射到侧面车窗等。
而步入2020年之后,苹果同样也没有停止对汽车技术的探索,截止今年12月,苹果在汽车领域又拿下了将近40个专利,在自动驾驶、智能座舱、智能车身、电动汽车、安全保障方面都有涉猎。
具体可参考车东西此前报道《苹果造车之心不死!1年新增30项专利,各个都是黑科技》、《70项专利解密苹果汽车!脑洞太大,特斯拉都追不上》、《苹果玩智能汽车,路子比特斯拉还野》。
从这些专利的情况来看,虽然苹果还没有正式拿出自己的车型,但是已经在整车制造、自动驾驶、智能座舱方面积累了大量的专利技术。
目前苹果已经积累了上百项汽车方面的专利,每一个新的专利都显示了苹果对于智能电动汽车的新思考。也就是说,苹果汽车虽然现在还没有出现,但是等到发布的时候,一定会是颠覆汽车行业的创举。
也正是在人才、技术和资金上的储备,汽车行业的多个大佬都将苹果视为最大的对手。2016年,马斯克就曾表示:“特斯拉的最大竞争对手不是谷歌,而是是苹果公司。”当年,福特时任CEO马克·菲尔兹(Mark Fields)也认为谷歌苹果将会是最大的对手,而不是通用或FCA。
即使苹果在这四年内造车之路并不是很顺畅,也还有人认为苹果不可忽视。在第十二届汽车蓝皮书论坛上,蔚来汽车CEO李斌认为在高端市场,未来将仅剩下5家左右车企,特斯拉和苹果将会位居其中。
五、苹果造车的进展如何?正建设供应链体系
虽然苹果在造车这条路上已经有了一定的技术积累,但是苹果至今还没有向外公布过造车的进展,外界对于苹果的造车情况,还不是非常清晰。
目前对于苹果造车的进展只能通过供应商和知情人士来透露,从这些只言片语中,我们也能大概了解到苹果造车的进展。
进入十二月份以来,关于苹果造车的新闻突然多了起来,12月10日,外媒DigiTimes报道称,近期汽车电子等相关供应链的消息显示,苹果将在美国设厂制造汽车,生产计划、初步技术、产品参数已经基本确定,目前已经开始与汽车电子供应商展开初步的合作洽谈。
苹果目前正在了解汽车产品的技术规格、成本、产品前景等多项指标,这类似于行业内的询价(RFQ)流程,同时也有不少供应商开始向苹果送样。DigiTimes还表示,苹果正在与台积电联合研发自动驾驶芯片。
而就在日前,台网的供应链企业再次向外传出了苹果造车的消息。台湾经济日报称,近期苹果开始向向和大、贸联、和勤、富田等等汽车零部件厂提出了备货要求,这些企业已经入到了苹果汽车的供应链之中。
甚至还在文中表示,因苹果的需求量巨大,和大、贸联等厂商全面爆单。

▲台媒统计的供应商信息
而路透社也在今天报道称苹果目前正在进行动力电池、自动驾驶的进一步研究。在动力电池方面,苹果正在研究大电池和类似CTP的技术,在电池原材料方面,苹果可能也在研究磷酸铁锂电池。
自动驾驶方面苹果将会采用多个激光雷达,苹果在自研激光雷达的同时还在和潜在激光雷达供应商进行谈判。
从这些信息来看,苹果确实已经在谋划自己的第一款车了,跟零部件厂商开始接触了,首款车的推出只是时间问题。但另一方面,苹果在核心科技方面还在进行研究。
六、苹果造车还有那些障碍?自动驾驶仍待突破
对于屡屡打造颠覆性产品的苹果来说,不会仅仅满足于打造一款普普通通的汽车,但要想达到这样的结果,苹果无疑还面临一些阻碍。
首先在整车制造方面,苹果并没有自己独立造车的经验,在动力电池这样的核心零部件方面还存在不小的短板。
其次,苹果要打造的一定是一款智能电动汽车,其中自动驾驶一定会成为重要的一部分,但是苹果目前在技术和数据收集上都存在一定的短板,自动驾驶技术并没有太多的突破。
年初,美国加州车管局(DMV)公布了58家自动驾驶公司(其中有自动驾驶路测牌照的公司有56家)在2019年度的自动驾驶路测数据。
在2017年就获得了路测资格的苹果也在其中,但从结果上来看,苹果的成绩并不算好,与谷歌相比还存在不小的差距。

▲谷歌Waymo和苹果的路测数据
2019年,苹果的成绩是路测总里程达到7544英里(约合1.2万公里),路测车辆70台,MPD(Miles Per Disengagement,衡量一辆自动驾驶汽车“驾驶水平”最直观的指标)为117.88英里(约合189.7公里)。谷歌Waymo在2019年的路测总里程约145万英里(约合233万公里),路测车辆148台,MPD为13219.43英里(约合2.12万公里)。
在最为关键的MPD数据上,谷歌Waymo的成绩是苹果的112倍还多。这就意味着,在自动驾驶技术方案,苹果还落后Waymo很多。

▲苹果用于自动驾驶测试的雷克萨斯RX450h
而在自动驾驶数据收集上,苹果这70辆车收集数据的能力也远远赶不上特斯拉,毕竟在影子模式的协助下,特斯拉有超过100万辆车都在进行自动驾驶的数据收集。
总的来看,苹果在造车路上还没能实现从0到1的跨越,在未来汽车行业竞争中最为关键的自动驾驶技术上苹果的建树也不算多,这也是苹果在造车路上不得不面临的阻碍。
七、苹果新车何时面世?未来2~3年或将发布
在苹果造车这件事上,除了苹果默默进行的一些努力之外,最吸引消费者的无疑是苹果汽车什么时候才会推出,而这一讨论近日非常火热。
10天前,媒体DigiTimes曾表示,预计2024~2025年苹果汽车就会正式亮相于苹果发布会。当时这一消息就曾引起了行业的广泛关注。
▲DigiTimes预测苹果汽车将在2024~2025年亮相
日前,台湾媒体的言论更是将这个时间往前提了两年不止,台湾经济日报称,零部件供应商证实苹果将会在明年9月份发表苹果汽车,比原先规划提早至少两年,其原型车已经在美国加州上路测试。
而今日,路透社也发表文章称苹果计划在2024年生产一款电动乘用车。
短短十余天的时间,苹果汽车的发布会时间就在2021年、2024年、2024~2025年这三个时间点反复跳动,让吃瓜群众吃的不亦乐乎。
事实上,关于苹果汽车亮相时间的讨论由来已久。2016年,特斯拉CEO马斯克做客Code Conference时曾表示:“如果不出意外,5年之后,你办公室窗前的马路上就会开过一辆真正印着苹果Logo的汽车”。但是五年过去了,窗外跑的汽车依然是BBA、大众、丰田、特斯拉。

▲马斯克
不过,从目前的消息来看,苹果在造车这件事上确实已经动了真格,但鉴于目前并没有海外媒体报道或是拍到所谓的苹果原型车,新车明年发表这个说法还有待考证。
现在传的比较多的时间点2024~2025年,无论是DigiTimes还是路透社都倾向于这个时间点,知名分析师郭明錤也曾预测苹果汽车将会在2023年至2025年间发布。
但苹果的研发能力和执行力都非常优秀,在已经开始布局供应链的情况下,再等3~5年发布苹果汽车看上去则过于缓慢,并不符合苹果的一贯作风。
由此来看,苹果汽车在明年发布的难度会比较大,但是2022年和2023年可能将会是关键节点。不过这都是猜测,苹果汽车的发布时间还是要等官方确认。
八、苹果将会造一辆什么样的车?将会具有三大特点
虽然苹果汽车的发布时间还不确定,但是不妨碍我们对苹果汽车进行猜测。苹果持续更新的专利技术也为我们提供了足够多的线索。
车东西此前曾连续跟踪了苹果曾获的的汽车专利,结合这些专利,车东西认为苹果的首款汽车将会具有以下三个特点。
1、将对机械结构不断优化,并且让硬件往智能化演进。
苹果一直以来都是一家硬件公司,在开发硬件上有自己独特的见解,这样的特性保留到了苹果汽车专利里面。
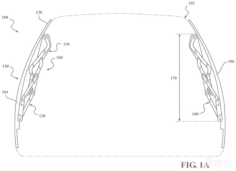
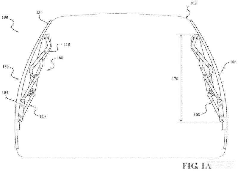
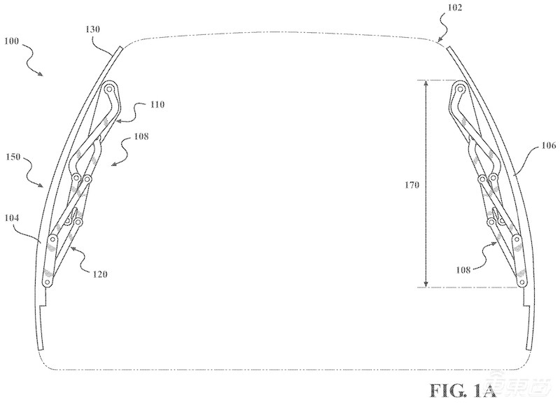
苹果的汽车专利中也对硬件做了很多的设计,如对车门的铰链进行了重新设计,可以解决开门时碰到周围车辆和撞到自动车的情况;保险杠加入了可伸缩的功能,从而减轻碰撞造成的伤害;车窗可以根据乘员的需求调节颜色、反射率和透明度,既可以保证车内隐私,也能调节车内氛围。

▲苹果专利中车门的结构
苹果还申请了多项汽车悬架的专利,车辆在检测当前道路状况后,会主动调节悬架,让车内乘员乘坐始终保持舒适状态。
甚至,苹果还想把安全气囊也塞入到安全带内。

▲安全带安全气囊
但仅对硬件进行改进并不是苹果最终的追求。在苹果的设想中,门把手内可以加入Touch ID或Face ID识别装置,提升安全性。
车辆的安全带也可以变成可触摸式,用户可以在安全带上定义不同的功能按键,并通过点按、滑动的方式调整车辆的音量、接听电话、询问Siri等功能。通过安全带实现车载音频和通讯的功能。内置麦克风离驾驶员的嘴更近,因此可以获得更好的收音效果。

▲驾驶员可以对驾驶员上的按钮、功能进行自由定义
通过嵌入生物识别技术和传感器,检验驾驶员是否酒驾。安全带进行加热,让驾驶员和乘客感受到温暖。此外,前排安全带可以控制后排娱乐系统,同时还能利用外界照射的阳光进行太阳能供电。
对于硬件的改进也能看出苹果在汽车上的思考,而对数十年未变革过的安全带进行重新设计则彰显了苹果的颠覆性思维。
2、AR、VR等虚拟现实技术将会出现在汽车上。
苹果去年的专利就在考虑VR技术和汽车的结合,希望用户可以在车上进行沉浸式VR视频会议。而一直以来,AR增强现实都是苹果重点发展的技术之一,将这一技术搬上车也是苹果的目标之一。
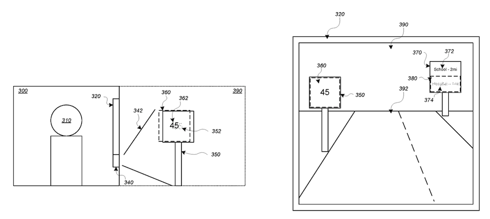
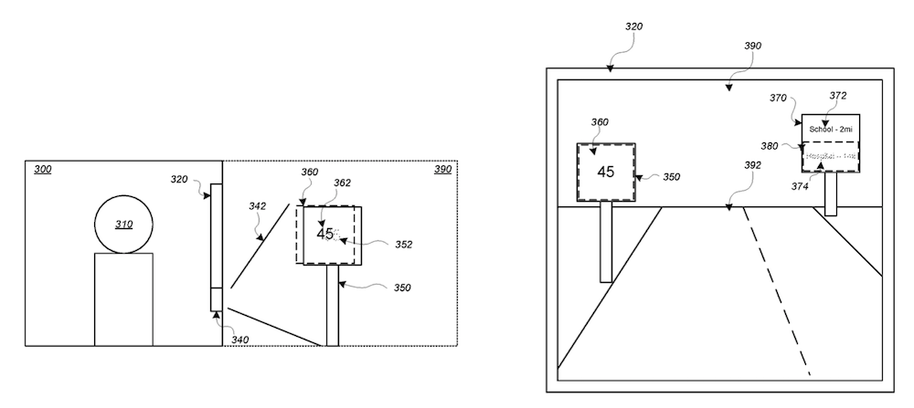
在这方面,苹果的方向是AR-HUD,截止目前,苹果一共获得了四项有关AR-HUD的专利。苹果的AR-HUD除了可以导航之外,还能翻译路牌。
▲AR-HUD可翻译路牌
有了AR-HUD,驾驶员还可以直接在挡风玻璃上通话,显示画面的大小可以和真人一样,让视频通话更有临场感。在驾驶过程中,FaceTime电话并不会挡住驾驶员视线,副驾可以看到完整的画面,主驾只能音频通话。当车辆速度下降或者停止时,驾驶员一侧才会显示FaceTime画面。
▲通过挡风玻璃可以实现FaceTime视频电话
这些功能在现在的技术条件下还不是很成熟,但考虑到苹果汽车还不会在近期推出,随着技术的演进,这些炫酷的功能出现在苹果汽车上也并非不可能。
3、自动驾驶将会是重头戏。
虽然苹果在自动驾驶方面的研发进展并不迅速,但是苹果对于自动驾驶仍然非常重视,多项专利都涉及到了自动驾驶。
可以肯定的是,苹果的自动驾驶技术一定会采用激光雷达,从2018年至今,苹果在激光雷达上已经获得了多个专利技术。
在苹果的专利中,激光雷达不但可以用来识别和测距,还能在极暗光环境下探测可能在道路上出现的动物和行人。
▲红外相机辅助激光雷达测距
同时,专利文件还展示了其他传感器组件,包括摄像头、生物探测处理器、激光雷达、垂直腔面射型激光脉冲控制器等。
这些传感器拥有不同的探测本领,实时观察车辆周围和前方的路况信息。专利显示,苹果希望在传感器采集信息之后,进行数据共享,让自动驾驶的决策过程更加精准。
苹果还考虑到了自动驾驶汽车去充电的问题,根据苹果的专利,电动汽车可以自动驾驶到充电站并自动插入插头充电。
具体可参考车东西此前报道《苹果造车之心不死!1年新增30项专利,各个都是黑科技》、《70项专利解密苹果汽车!脑洞太大,特斯拉都追不上》、《苹果玩智能汽车,路子比特斯拉还野》。
总的来看,虽然苹果汽车还没有亮相,但是苹果已经构想了一个汽车的蓝图,比如全车身智能化的硬件,VR和AR技术进入座舱内部,更加准确智能的自动驾驶,这些功能都非常值得期待,相应的苹果汽车也非常值得期待。
九、苹果会自产汽车吗?短期内可能会选择代工
在苹果造车方面,还有一件事值得大家思考,即苹果会进行自产还是代工?
在传统的消费电子领域,代工的模式非常成熟,像富士康、比亚迪这样的企业在代工方面做的都非常成功,而在汽车领域代工并不普遍,仅有麦格纳会帮车企代工一些高端车型。
从外媒消息来看,苹果确有代工的想法,路透社报道,苹果此前曾与麦格纳就生产汽车进行过谈判,但由于苹果的计划并不清晰,谈判最终并没有成功。
目前来看苹果确实也少有建厂的传闻,再加上苹果此前并无生产汽车的经验,自己贸然建厂还需要很多流程需要打通。
最适合苹果的方式或许只剩下代工生产和建立合资车企来生产这两条路了。
但需要说明的一点是,这仅限于苹果汽车的初期,等苹果汽车每年都能达到一定的销量之后,苹果一定会考虑自产汽车。
这既跟苹果一直以来的发展理念有关,也跟汽车产业的普遍规律有关。
十、苹果何时开始造车计划?乔布斯时代已有念头
总的来看,苹果进入汽车行业并不是一时突发奇想,而是很早之前就有的想法。
《纽约时报》报道显示,乔布斯生前就打算开发汽车品牌iCar,而苹果前高管也曾表示乔布斯在2008年就有造车的念头,但当时主要精力放在了研发手机上面。
进入了本世纪第二个十年之后,苹果在手机市场站稳了脚步,就开始重新考虑进入汽车行业了。在2014年,苹果开启了代号为“泰坦计划”,正式对汽车进行研发。
在发展之初,苹果一直集中在汽车硬件的开发方面,直到2016年,苹果前硬件高级副总裁Bob Mansfield接任Titan汽车项目后,苹果的研发路线曾从汽车硬件开发转变为自动驾驶系统的开发。
2017年,苹果首席执行官库克在接受彭博电视台采访时说:“苹果正在专注于自动驾驶系统,但不一定会开发出真正的硬件产品。”2018年,苹果对自动驾驶的测试不断升级、规模也在不断扩大。
但在2019年,有关苹果自动驾驶车辆的信息在逐渐减少,甚至还曝出苹果在自动驾驶部门裁员200人的消息,唯一重磅的消息是苹果收购了Drive.ai自动驾驶公司,苹果无论在自动驾驶还是造车领域似乎正在更加低调。
而最近,根据彭博社报道,目前苹果的自动驾驶部门负责人再次换人,由机器学习和AI战略高级副总裁John Giannandrea担任主管,前主管Bob Mansfield正式退休。苹果Titan项目执行主管Doug Field直接向John Giannandrea汇报,John Giannandrea直接向苹果CEO库克汇报。
▲苹果高级副总裁John Giannandrea
此后,近段时间以来,苹果在造车方面的消息再起,而且似乎距离第一款车的推出已经不远了。
从这段历程来看,虽然苹果的造车之路并不顺畅,但是苹果始终不曾放弃过这一计划,也正因为如此,苹果汽车才值得用户一直期待。
结语:苹果造车,从不是说说而已
在汽车行业进行四化转型之后,越来越多的跨界玩家进入到了汽车领域,但在这些外来者中,有人成功,有人黯然退场,有人还在继续坚持。
苹果就属于还在继续坚持阵营中的一员,虽然进展并不算迅速,但是苹果在人才储备、资金储备方面都不逊色,凭借着资金和人才的投入,苹果已经取得了超过百项的汽车专利,也仍然在有条不紊的进行造车准备。
现阶段,关于苹果造车的信息再次增加,也说明苹果造车可能快要到一个新的节点了。苹果这个新造车玩家也正在跑步进场,如果苹果在未来几年的某一个发布会上突然亮出了苹果汽车,也不会让人意外。
 
         
         
                 
                     
                                 
                                 
                                 
                                 
                                 
             
                





 
                    