车东西(公众号:chedongxi)
文 | 六毛
车东西3月10日消息,日前,工业和信息化部(以下简称工信部)在官方网站上发布了《<汽车驾驶自动化分级>推荐性国家标准报批公示》,以期就《汽车驾驶自动化分级(报批稿)》向社会各界征求意见。
在此之前,各自动驾驶相关企业主要以国际自动机工程学会(SAE)的自动驾驶六等级划分作为参考标准,所以《汽车驾驶自动化分级》获准通过,也就意味着中国将正式拥有自己的自动驾驶汽车分级标准。

▲工信部发布《汽车驾驶自动化分级《报批稿》
《汽车驾驶自动化分级》拟从2021年1月1日起实施,根据当前发布的报批稿,自动驾驶汽车将以5个要素为主要依据,被划分为0级(应急辅助)、1级(部分驾驶辅助)、2级(组合驾驶辅助) 、3 (有条件自动驾驶) 、4 级(高度自动驾驶) 、5 级(完全自动驾驶) 共6个不同的等级。
和SAE分级标准相比,两者在整体分级思路和分级划分标准上大体一致,且都把汽车的自动化程度划分为6种不同的等级。对每一等级自动驾驶汽车的具体界定,两种标准也大体相同,仅在某些方面存在一些区别。
其中,中国版分级标准针对0级至2级自动驾驶,规定“目标和事件探测与响应”(监测路况并做出反应)由驾驶员及系统共同完成。而在SAE标准下,L0级至L2级自动驾驶汽车的OEDR(目标和事件检测,以及决策任务)则全部由人类驾驶员完成。
对于自动驾驶的发展来说,国家标准的出台是自动驾驶技术实现大规模应用落地的关键前置条件,明确的标准有助于各类企业更有针对性展开研发和技术部署的工作,进而促进各类自动驾驶汽车的量产与落地进程。
下面是关于《汽车驾驶自动化分级(报批稿)》的具体解读:
一、国标自动驾驶分级出炉
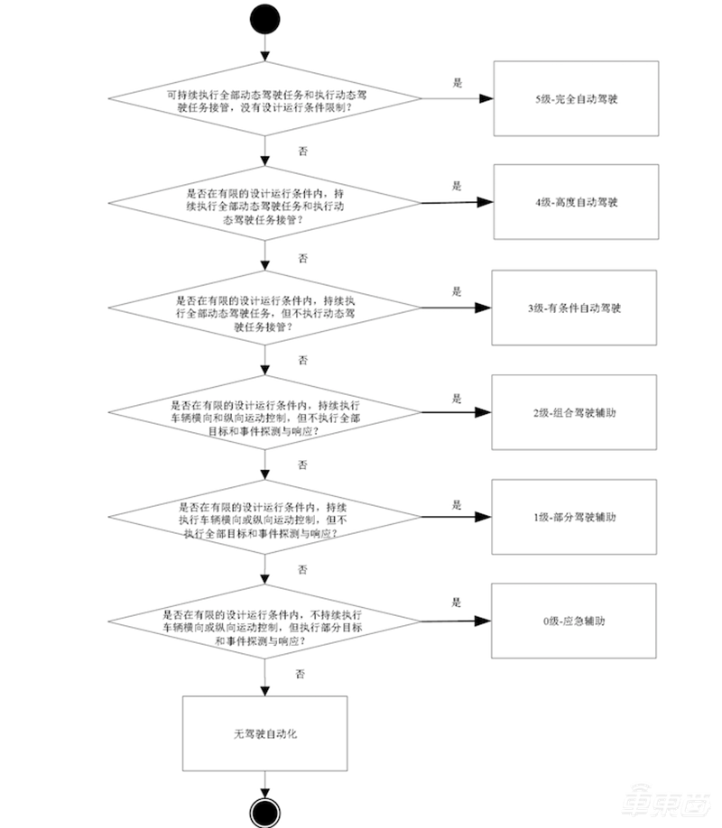
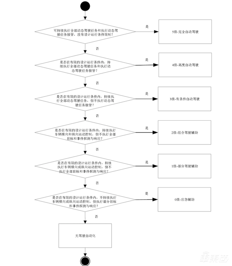
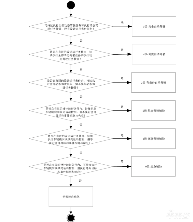
实际上,无论是SAE/NHTSA标准,还是《汽车驾驶自动化分级(报批稿)》其实都是通过把汽车的自动化程度拆解为几项指标,并根据各项指标上的具体表现(是否满足该指标要求)对汽车的自动化级别进行判断,进而最终完成对自动驾驶汽车的级别界定。
根据《汽车驾驶自动化分级(报批稿)》,汽车的自动驾驶等级将主要基于以下5个要素进行划分:
1、驾驶自动化系统是否持续执行动态驾驶任务中的车辆横向或纵向运动控制,即自动驾驶系统能否控制汽车转向或加减速。
2、驾驶自动化系统是否同时持续执行动态驾驶任务中的车辆横向和纵向运动控制,即自动驾驶系统能否同时对汽车的方向和加减速进行控制。
3、驾驶自动化系统是否持续执行动态驾驶任务中的目标和事件探测与响应,这一点可理解为自动驾驶系统是不是能够观测路况并根据路况做出相应的反应。
4、驾驶自动化系统是否执行动态驾驶接管任务,即当汽车出现故障或问题的时候,是否由自动驾驶系统接管并负责驾驶汽车。
5、驾驶自动化系统是否存在设计运行条件限制,即自动驾驶系统的工作条件是否有限制。

▲驾驶自动化等级分流程及判定方法
由此,《汽车驾驶自动化分级(报批稿)》将汽车的自动化等级具体划分成0级至5级共6个标准。属于不同等级的自动驾驶汽车在可实现的驾驶功能、汽车驾驶任务的执行者和工作条件几个方面存在差异。

▲驾驶自动化等级与划分要素关系图示
1、0级驾驶自动化(应急辅助)
车辆的自动驾驶系统虽然不能控制汽车的转向或加减速,但是具备一定的路况识别和反应能力,比如能够在危险出现的时候提醒驾驶员。
当出现故障时,汽车将由人类驾驶员负责接管,在驾驶员请求退出自动驾驶状态时,汽车能立即解除系统的控制权。此外,0级自动驾驶仅在某些条件下才能实现。
按照上述规定,FCW前部碰撞预警和LDW车道偏离预警功能都可归类于0级自动驾驶。
2、1级驾驶自动化(部分驾驶辅助)
1级自动驾驶汽车和0级自动驾驶汽车一样,都属于有限制条件的自动驾驶,且当汽车出现故障时都需要人类驾驶员来控制车辆。
不同之处在于,1级自动驾驶汽车的自动化系统能够在人类驾驶员的协助下,对车辆的方向或加减速进行控制。换言之,1级自动驾驶可具备ACC自适应巡航或者LKA车道保持辅助功能。
3、2 级驾驶自动化(组合驾驶辅助)
在自动驾驶系统所规定的运行条件下,车辆本身能够控制汽车的转向和加减速运动。在汽车出现故障时,人类驾驶员将负责执行汽车的驾驶任务。
和1级自动驾驶相比,2级自动驾驶将拥有ICC集成式巡航辅助功能(即同时具备自适应巡航控制功能和车道保持辅助功能)。
4、3 级驾驶自动化(有条件自动驾驶)
在自动驾驶系统所规定的运行条件下,车辆本身就能完成转向和加减速,以及路况探测和反应的任务。对于3级自动驾驶汽车,驾驶员需要在系统失效或者超过工作条件时对故障汽车进行接管。
由此,属于3级自动驾驶的汽车将有条件实现TJP交通拥堵辅助功能。
5、4 级驾驶自动化(高度自动驾驶)
4级自动驾驶汽车仍属于有限制条件的自动驾驶,但是汽车的方向和加减速控制,路况观测和反应,以及汽车故障时的接管任务都能够由自动驾驶系统完成,不需要人类参与。而按照这一界定,无人出租车便属于4级自动驾驶。
6、5 级驾驶自动化(完全自动驾驶)
5级自动驾驶汽车和4级自动驾驶汽车能够实现的基本功能相同,但5级自动驾驶汽车不再有运行条件的限制(商业和法规因素等限制除外),同时自动驾驶系统能够独立完成所有的操作和决策。
二、中美标准对比 仅L0-L2有细微差别
此前全球汽车行业对于自动驾驶汽车进行分级主要是以美国国家高速公路安全管理局(NHTSA)和国际自动机工程学会(SAE)制定的两套分级标准作为判断的依据,现在则通常以SAE的分级标准作为主流标准。

▲SAE J3016中对自动驾驶汽车的等级划分
对比中外两种不同的分级标准之后,可以发现,《汽车自动驾驶分级(报批稿)》中的等级划分要素包括车辆横向和纵向运动控制、目标和事件探测与响应,动态驾驶任务接管和设计运行条件4项内容,基本对应了SAE标准中的DDT(dynamic driving task,即动态驾驶任务)、DDT fallback(动态驾驶任务支援)和ODD(operational design domain,即设计运营范围)。
另一方面,对每一等级自动驾驶汽车的具体界定,两种标准也大体相同,只在某些方面存在一些区别。其中,中国版分级标准针对0级至2级自动驾驶,规定的是“目标和事件探测与响应”由驾驶员及系统共同完成。而在SAE标准下,L0级至L2级自动驾驶汽车的OEDR(目标和事件检测,以及决策任务)全部由人类驾驶员完成。

▲SAE自动驾驶分级标准图示
在整体分级思路上,《汽车自动驾驶分级(报批稿)》和SAE标准都以人类驾驶员/自动驾驶系统在车辆行驶中充当的角色,汽车有无行驶限制条件,以及当汽车出现故障时“谁”来负责接管为基础,来对汽车的驾驶自动化水平进行定义。
如果按照SAE J3016标准,那么L0级至L2级自动驾驶汽车均需要由人类驾驶员进行操作,其中L1级自动驾驶汽车具备车道保持辅助功能或者自适应巡航控制功能,但L2级自动驾驶汽车则需要同时具备这两项功能。
属于L3级至L4级的自动驾驶汽车可由自动驾驶系统负责驾驶任务,但依照不同的等级,系统和人类驾驶员应答的标准和条件仍然存在区别。
例如,L3级和L4级自动驾驶汽车均只能在有条件的情况下进行自动驾驶,其中拥堵情况下的自动跟车功能被分类至L3级,而本地无人驾驶的出租车以及无踏板/方向盘则需要L4级汽车才能满足。此外,L5级自动驾驶汽车和L4级汽车在功能上相似,两者的不同之处在于L5级汽车可以在任何情况下进行自动驾驶。
简言之,《汽车自动驾驶分级(报批稿)》和SAE标准两者都将汽车的自动化程度划分为6种不同的等级,且针对级别的划分要素基本对应,因而可以认为这两种标准对每个具体的自动化驾驶功能的分级结果是基本一致的。
结语:从国家层面助力自动驾驶发展
自动驾驶技术的研发和落地,不仅将带来汽车行业及相关产业链体系的重塑,也会给人们创造更加安全和舒适的出行方式。
目前,包括中国、美国、日本、韩国在内的全球多个国家都将自动驾驶技术作为发展智能交通系统的一个重要方向,从国家层面展开战略布局。
在这种情况下,日前发布的《汽车自动驾驶分级(报批稿)》可谓正当其时。正是由于国家标准的出台是自动驾驶技术实现大规模应用落地的关键前置条件,有了标准,各类企业才可以更有针对性的研发、部署技术,进而促进各类自动驾驶汽车的量产与落地进程。